| № | Наименование | Примечание | Кол-во |
|---|---|---|---|
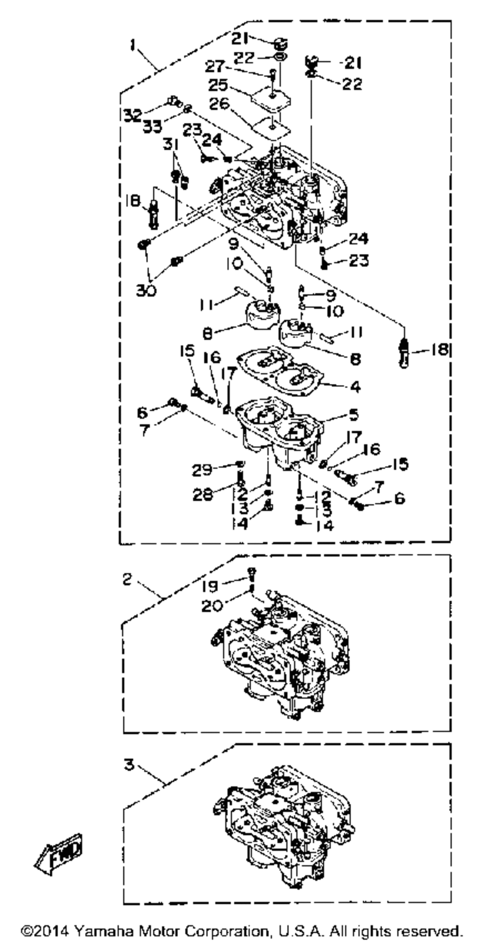
| 1 | CARBURETOR ASY 1 | 1 | |
| 2 | CARBURETOR ASY 2 | 1 | |
| 3 | CARBURETOR(LOWER) (LOWER) | 1 | |
| 4 | GASKETFLOAT CHMBR | 1 | |
| 5 | BODYFLOAT CHAMBER | 3 | |
| 6 | SCREWDRAIN | 6 | |
| 7 | GASKET (5 per pack) | 6 | |
| 8 | FLOAT | 6 | |
| 9 | VALVEFLOAT | 6 | |
| 10 | CLIP | 6 | |
| 11 | PIN FLOAT | 6 | |
| 12 | JET PILOT (tahos_82) (tahos_82) | 6 | |
| 13 | O-RING (5 per pack) | 6 | |
| 14 | PLUG PILOT JET | 6 | |
| 15 | JET MAIN (tahos_124) (tahos_124) UR L150 MODEL | 6 | |
| 16 | O-RING | 6 | |
| 17 | GASKET | 6 | |
| 18 | NOZZLE MAIN | 6 | |
| 19 | SCREWTHROTTLE | 1 | |
| 20 | SPRINGTHR.ADJ SCR | 1 | |
| 21 | SCREWPILOT STOP | 6 | |
| 22 | GASKETSTARTER | 6 | |
| 23 | SCREWAIR ADJ | 6 | |
| 24 | SPRINGAIR ADJ SCR | 6 | |
| 25 | PLATE | 3 | |
| 26 | GASKET | 3 | |
| 27 | SCREWFLAT HEAD | 3 | |
| 28 | . . ELECTRONIC SIREN ASS'Y | 12 | |
| 29 | WASHERSPRING (5 per pack) | 12 | |
| 30 | JETSLOW AIR BLEED (tahos_60) | 6 | |
| 31 | JETMAIN AIR BLEED (200) | 6 | |
| 32 | SCREWFLAT HEAD | 3 |
