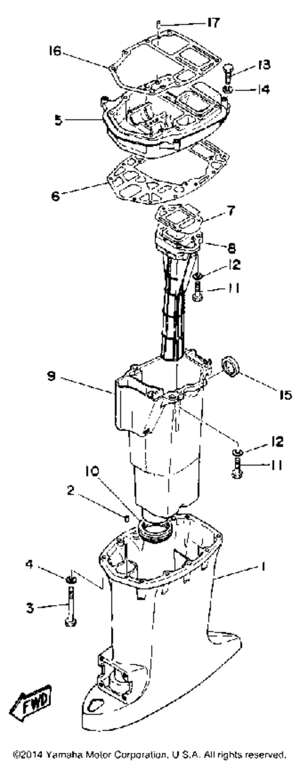
| № | Наименование | Примечание | Кол-во |
|---|---|---|---|
| 1 | CASINGUPPER UR SHORT | 1 | |
| 1 | CASINGUPPER UR LONG | 1 | |
| 2 | PINDOWEL (USA) (5 per pack) | 2 | |
| 3 | BOLTHEXAGON | 8 | |
| 4 | WASHER (5 per pack) | 8 | |
| 5 | EXHAUST GUIDE | 1 | |
| 6 | GASKETUPPER CASNG | 1 | |
| 7 | GASKETEXH.MANI.2 | 1 | |
| 8 | MANIFOLD EXT | 1 | |
| 9 | MUFFLER L UR SHORT | 1 | |
| 9 | MUFFLER 1 UR LONG | 1 | |
| 10 | GASKETMUFFLER | 1 | |
| 11 | BOLT | 7 | |
| 14 | WASHERSPRING | 2 | |
| 15 | GASKETEXH MANI 1 | 1 | |
| 16 | GASKETUPPER CASIN | 1 |
