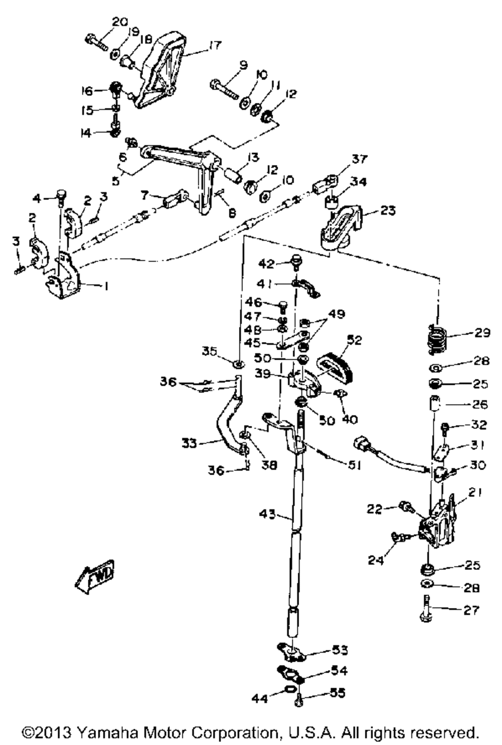
| № | Наименование | Примечание | Кол-во |
|---|---|---|---|
| 1 | BRACKETREMOTE CON | 1 | |
| 2 | CLAMPCABLE | 2 | |
| 3 | PINSPRING | 2 | |
| 4 | BOLT W/WASHER | 1 | |
| 5 | LEVER MAGNETO CONTR | 1 | |
| 6 | JOINTBALL | 1 | |
| 7 | CABLE ENDREM.CNTL | 1 | |
| 8 | CLIP | 1 | |
| 9 | BOLT (661) 1 | 1 | |
| 10 | WASHER | 2 | |
| 11 | WASHERWAVE | 1 | |
| 12 | BUSH | 2 | |
| 13 | COLLAR | 1 | |
| 14 | LINKACCEL. | 1 | |
| 15 | NUT (5 per pack) | 1 | |
| 16 | .JOINT LINK | 1 | |
| 17 | CAM ACCEL. | 1 | |
| 18 | COLLAR | 1 | |
| 19 | WASHERWAVE | 1 | |
| 20 | BOLT | 1 | |
| 21 | BRACKET | 1 | |
| 22 | BOLT W/WASHER | 2 | |
| 23 | BRACKET | 1 | |
| 24 | NIPPLE GREASE | 1 | |
| 26 | COLLAR | 1 | |
| 27 | BOLT | 1 | |
| 29 | SPRING TORSION | 1 | |
| 30 | SWITCH ASSY | 1 | |
| 31 | PLATE | 1 | |
| 32 | SCREWPAN HEAD W/W EXCEPT JET-DRIVE | 2 | |
| 33 | LEVER SHIFT ROD | 1 | |
| 34 | BUSHINGSHFT.ROD | 1 | |
| 35 | WASHERPLATE | 1 | |
| 38 | WASHERPLATE (5 per pack) | 1 | |
| 39 | BRACKET 2 | 1 | |
| 40 | NIPPLEGREASE | 1 | |
| 41 | SPRING | 1 | |
| 42 | BOLT WITH WASHER | 2 | |
| 43 | HANDLE GEAR SHIFT AS UR ULTRA LONG | 1 | |
| 44 | O-RING | 1 | |
| 45 | STAYHANDLE GR SHF | 1 | |
| 46 | BOLT (661) | 1 | |
| 47 | WASHER (5 per pack) | 1 | |
| 48 | WASHER (5 per pack) | 1 | |
| 49 | NUT (6L2) | 2 | |
| 50 | BUSH | 1 | |
| 51 | Шплинт | 1 | |
| 52 | SEALCRANKCASE | 1 | |
| 53 | GROMMET 1 | 1 | |
| 54 | WASHER | 1 | |
| 55 | SCREW PAN HEAD | 2 |
