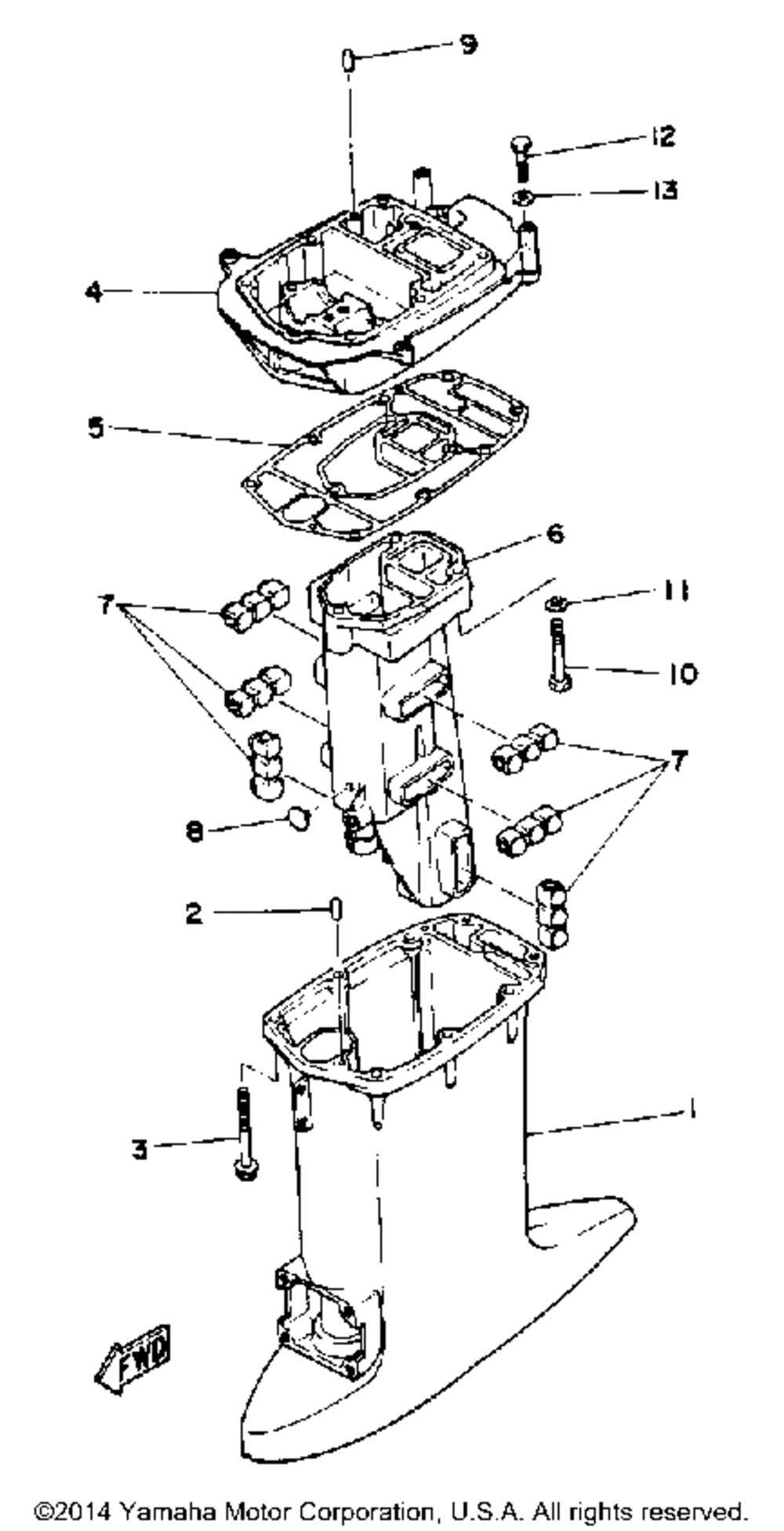
| № | Наименование | Примечание | Кол-во |
|---|---|---|---|
| 1 | CASINGUPPER UR SHORT | 1 | |
| 1 | CASINGUPPER UR LONG | 1 | |
| 2 | PINDOWEL (USA) (5 per pack) | 2 | |
| 3 | BOLTWITH WASHER | 6 | |
| 4 | GUIDE EXHAUST | 1 | |
| 5 | GASKETUPPER CASNG | 1 | |
| 6 | MANIFOLD EXT. 1 UR 30-O/I (30MH) | 1 | |
| 7 | DAMPERMUFFLER | 6 | |
| 8 | PLUGSPEC'L SHAPE | 1 | |
| 10 | BOLT | 3 | |
| 11 | WASHER (5 per pack) | 3 | |
| 12 | BOLT | 2 |
