| № | Наименование | Примечание | Кол-во |
|---|---|---|---|
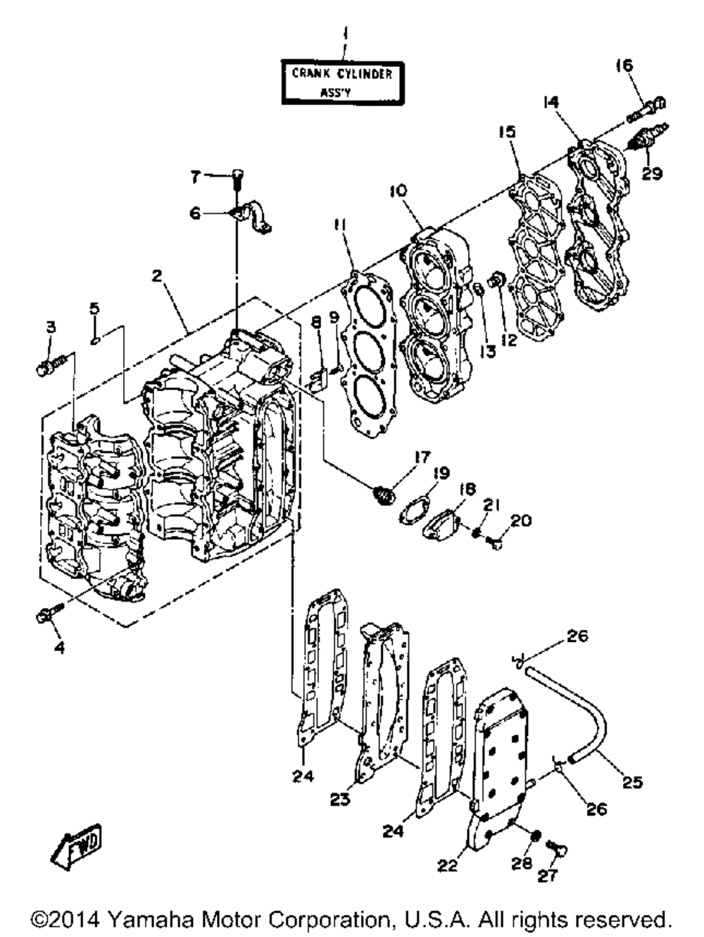
| 1 | CRANK CYLINDER ASSY | 1 | |
| 2 | CRANKCASE ASSY | 1 | |
| 3 | BOLT WITH WASHER | 8 | |
| 4 | BOLTWITH WASHER | 6 | |
| 5 | PINDOWEL (USA) (5 per pack) | 2 | |
| 6 | HANGER ENGINE (TR) | 1 | |
| 7 | BOLT | 2 | |
| 8 | ANODE | 2 | |
| 9 | SCREW FLAT HEAD | 2 | |
| 10 | HEAD CYLINDER 1 | 1 | |
| 11 | GASKET CYLINDER HEA | 1 | |
| 12 | PLUGSTRAGHT SCREW | 1 | |
| 13 | GASKET | 1 | |
| 14 | COVERCYL.HEAD 1 | 1 | |
| 15 | GASKET HD.COVER 1 | 1 | |
| 16 | BOLT WITH WASHER | 14 | |
| 17 | THERMOSTAT | 1 | |
| 18 | COVER THERMOSTAT (TR) | 1 | |
| 19 | GASKETCOVER | 1 | |
| 20 | BOLT | 2 | |
| 21 | WASHER (5 per pack) | 2 | |
| 22 | OUTER COVER EXHAUST (TR) | 1 | |
| 23 | INNER COVER EXHAUST (TR) | 1 | |
| 24 | GASKETEXH.COVER | 2 | |
| 25 | HOSE | 1 | |
| 26 | CLIPSCISSOR | 1 | |
| 27 | BOLT(3RV) | 14 | |
| 29 | B8HS-10 NGK SCREW TO (NGK B8HS-10) (4 per pack) | 3 |
