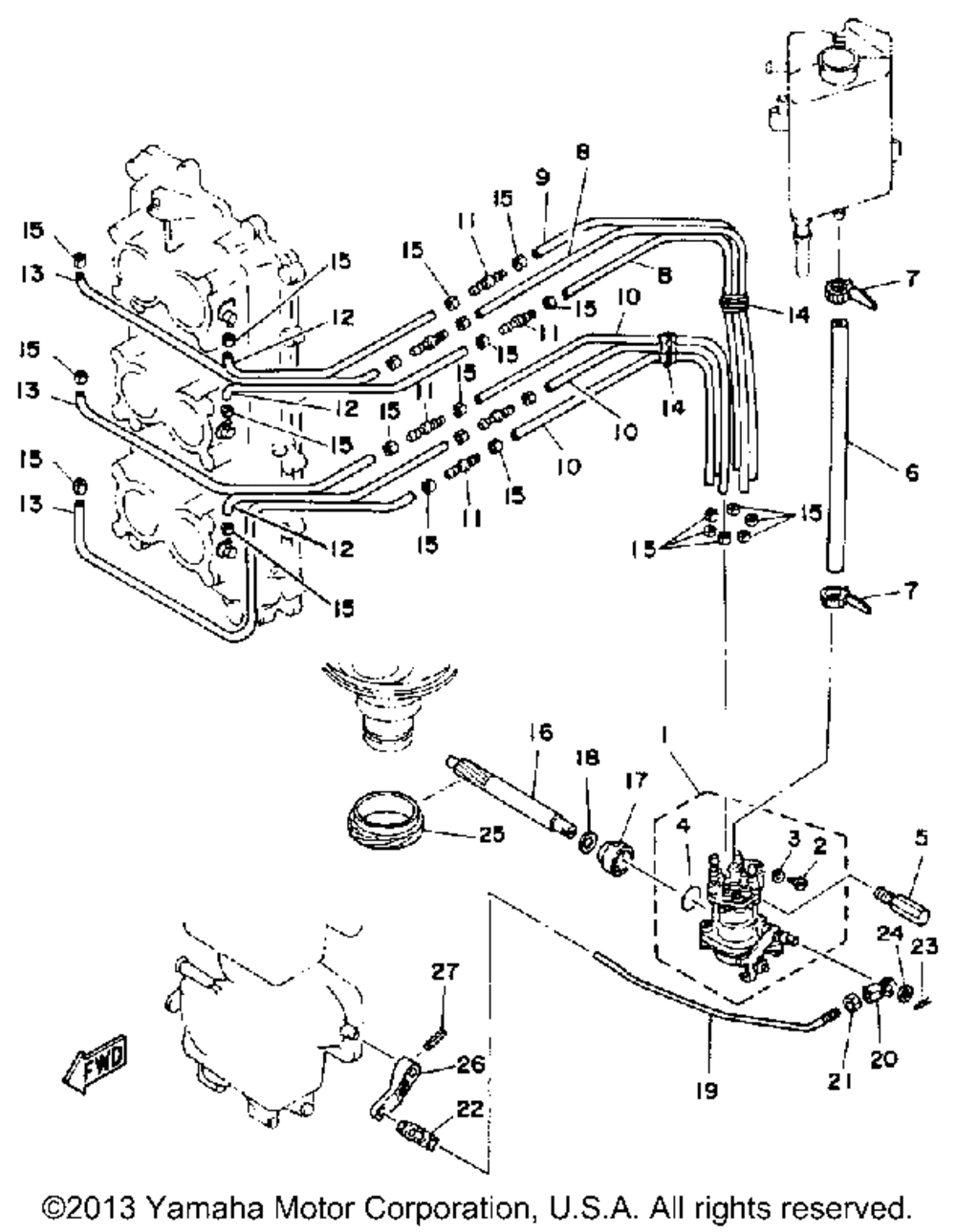
| № | Наименование | Примечание | Кол-во |
|---|---|---|---|
| 1 | OIL PUMP KIT U.R.L150 MODEL | 1 | |
| 1 | OIL PUMP KIT UR L200 MODEL | 1 | |
| 2 | SCREWDRAIN | 1 | |
| 3 | WASHER | 1 | |
| 4 | O-RING | 1 | |
| 5 | BOLT | 2 | |
| 6 | PIPEOIL 1 | 1 | |
| 7 | CLAMP | 2 | |
| 8 | HOSE | 2 | |
| 9 | HOSE (L330) | 1 | |
| 10 | HOSE (L200) (L150) | 3 | |
| 11 | JOINT | 6 | |
| 12 | HOSE (L110) | 3 | |
| 13 | HOSE (L310) | 3 | |
| 14 | CLAMP | 2 | |
| 15 | CLIP | 24 | |
| 16 | GEAR DRIVEN | 1 | |
| 17 | COLLAR DISTANCE | 1 | |
| 18 | WASHERPLATE | 1 | |
| 19 | ROD 1 | 1 | |
| 20 | JOINTLINK 2 | 1 | |
| 21 | NUT (5 per pack) | 1 | |
| 22 | JOINT LINK | 1 | |
| 23 | CLIP (5 per pack) | 1 | |
| 24 | WASHERPLATE | 1 | |
| 25 | GEARDRIVE | 1 | |
| 26 | LEVER | 1 | |
| 27 | PINSPRING | 1 |
