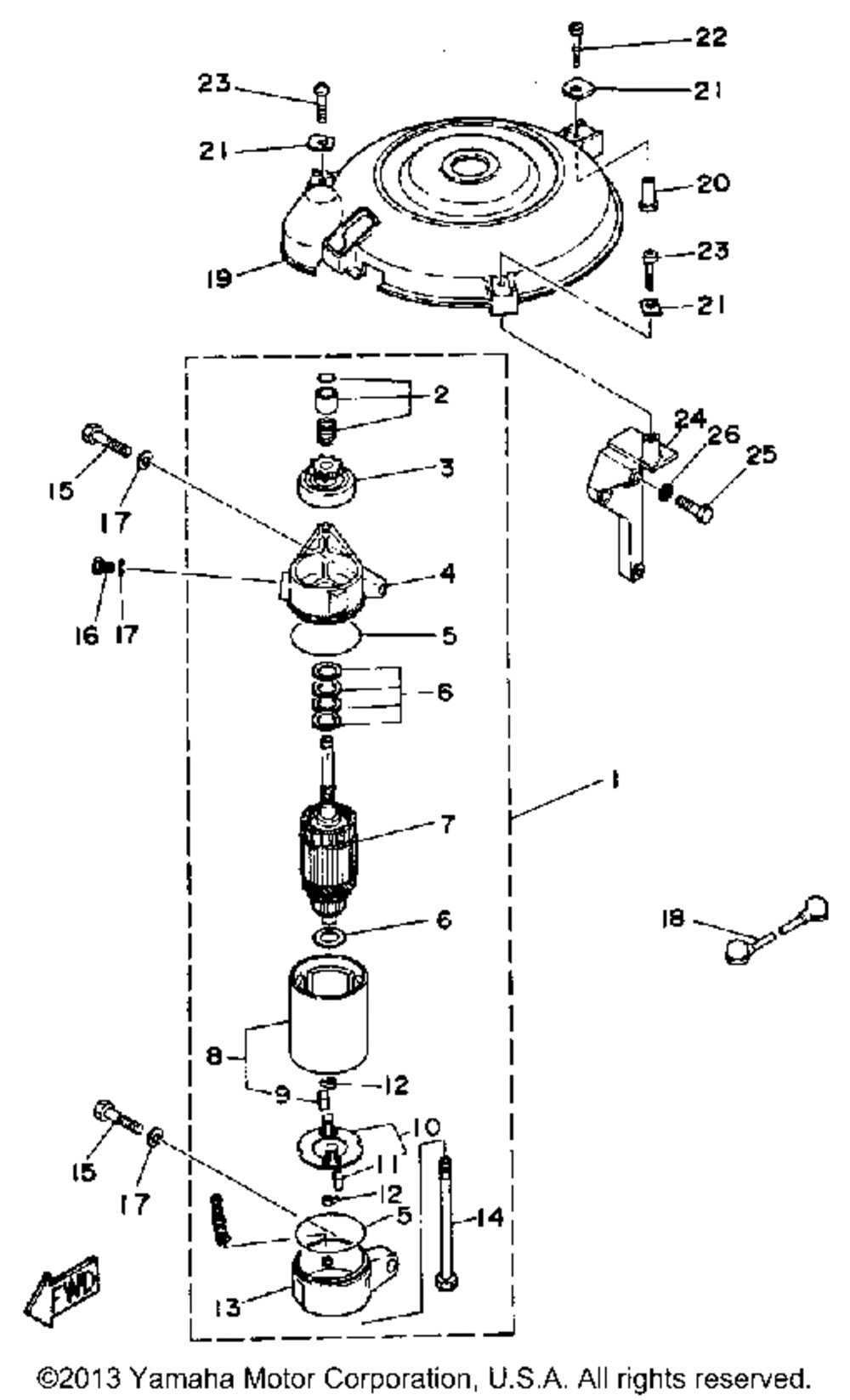
| № | Наименование | Примечание | Кол-во |
|---|---|---|---|
| 1 | STARTING MOTOR ASY | 1 | |
| 2 | RETAINER | 1 | |
| 3 | PINION ASY | 1 | |
| 4 | FRONT BRACKET ASSY | 1 | |
| 5 | . .O-RING | 2 | |
| 6 | . .WASHER KIT | 1 | |
| 7 | ARMATURE ASY | 1 | |
| 8 | STATOR ASY | 1 | |
| 9 | . . ..BRUSH 1 | 1 | |
| 10 | . .BRUSH HOLDER ASSY | 1 | |
| 11 | . . ..BRUSH 2 | 1 | |
| 12 | . . ..SPRING BRUSH | 2 | |
| 13 | REAR COVER ASY | 1 | |
| 14 | . .BOLT | 2 | |
| 15 | BOLT | 2 | |
| 16 | BOLT (661) | 1 | |
| 17 | WASHER (5 per pack) | 3 | |
| 18 | WIRELEAD | 1 | |
| 19 | COVERFLYWHEEL | 1 | |
| 20 | COLLAR | 3 | |
| 21 | WASHERSPEC'L SHAP | 3 | |
| 22 | SCREWPAN HEAD | 1 | |
| 23 | SCREW PAN HEAD | 2 | |
| 24 | STAY 2 | 1 | |
| 25 | BOLT | 3 | |
| 26 | WASHER (5 per pack) | 3 |
