| № | Наименование | Примечание | Кол-во |
|---|---|---|---|
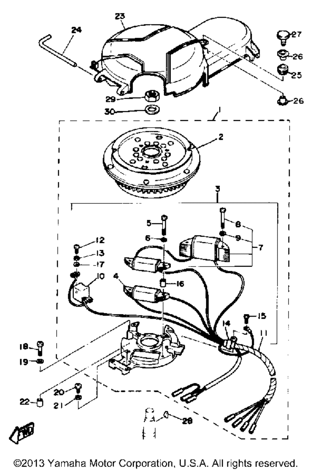
| 2 | ROTOR ASSY. | 1 | |
| 3 | BASE ASSY | 1 | |
| 4 | COILCHARGE | 1 | |
| 5 | SCREW PAN HEAD | 2 | |
| 6 | WASHERSPRING (5 per pack) | 2 | |
| 7 | LIGHTING COIL ASY | 1 | |
| 10 | COIL PULSER | 1 | |
| 11 | LEAD WIRE ASY | 1 | |
| 12 | SCREWPAN HEAD (10 per pack) | 2 | |
| 14 | CLAMP | 1 | |
| 15 | SCREWPAN HEAD | 1 | |
| 16 | SPACER | 2 | |
| 17 | WASHER (5 per pack) | 2 | |
| 18 | SCREWPAN HEAD | 2 | |
| 19 | WASHER (5 per pack) | 2 | |
| 20 | SCREWPAN HEAD (5 per pack) | 1 | |
| 22 | PIN DOWEL | 2 | |
| 23 | COVERFLYWHEEL | 1 | |
| 24 | SHAFT | 1 | |
| 25 | GROMMET | 1 | |
| 26 | COLLAR | 2 | |
| 27 | SCREW 1 | 1 | |
| 28 | KEY WOODRUFF | 1 | |
| 29 | NUT | 1 | |
| 30 | WASHERPLATE | 1 |
