| № | Наименование | Примечание | Кол-во |
|---|---|---|---|
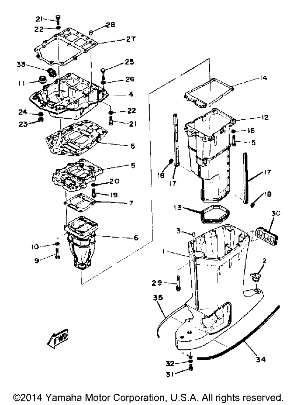
| 1 | CASINGUPPER UR LONG | 1 | |
| 2 | CAP | 1 | |
| 3 | PINDOWEL (5 per pack) | 2 | |
| 4 | EXHST GUIDE/MANFLD | 1 | |
| 5 | MANIFOLD EXT. 1 | 1 | |
| 6 | MANIFOLDEXHAUST 2 UR P200 | 1 | |
| 7 | GASKET EXHAUST MANI | 1 | |
| 8 | GASKET UPPER CASING | 1 | |
| 9 | BOLTHEXAGON | 4 | |
| 10 | WASHER (5 per pack) | 4 | |
| 11 | GROMMET 1 | 1 | |
| 12 | MUFFLER 1 (6E5-14711-00-9M) | 1 | |
| 13 | GASKETMUFFLER | 1 | |
| 14 | GASKETEXH.MANI.3 | 1 | |
| 17 | DAMPERMUFFLER | 2 | |
| 18 | NUTSPRING (5 per pack) | 2 | |
| 19 | BOLT | 4 | |
| 22 | WASHERSPRING | 6 | |
| 23 | NUT | 2 | |
| 27 | GASKET UPPER CASING | 1 | |
| 29 | BOLTWITH WASHER | 6 | |
| 30 | SEALRUBBER | 1 | |
| 31 | BOLT | 1 | |
| 32 | WASHER (5 per pack) | 1 | |
| 33 | JOINTHOSE 1 | 1 | |
| 34 | MARK | 1 | |
| 35 | MARK 2 | 1 |
