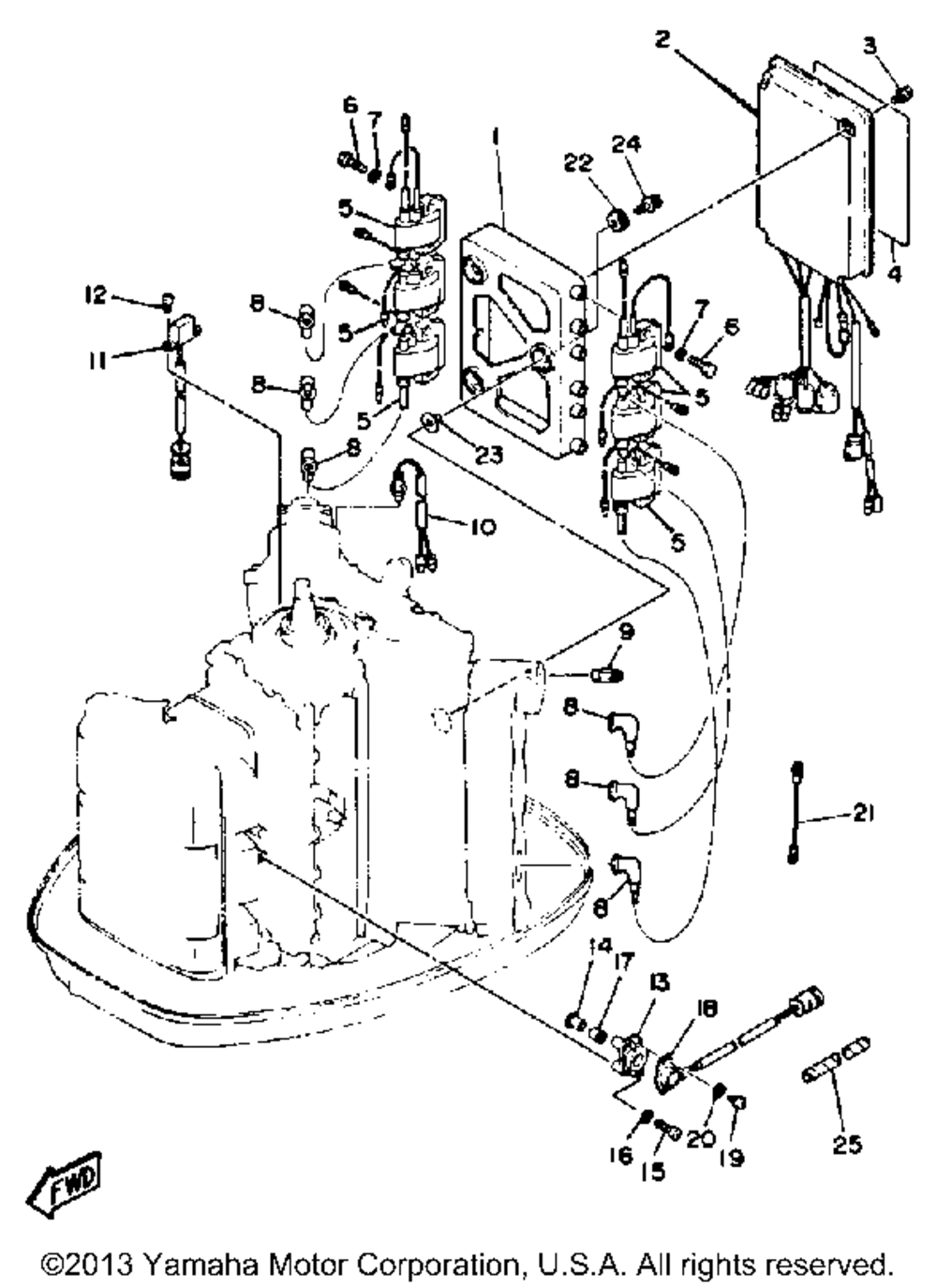
| № | Наименование | Примечание | Кол-во |
|---|---|---|---|
| 1 | BRACKET | 1 | |
| 2 | CONTROL UNIT ASY | 1 | |
| 3 | SCREWWITH WASHER | 4 | |
| 4 | EMBLEM | 1 | |
| 5 | IGNITION COIL ASY | 6 | |
| 6 | BOLT | 12 | |
| 7 | WASHER (5 per pack) | 12 | |
| 8 | PLUG CAP ASY | 6 | |
| 9 | SENSORKNOCK | 1 | |
| 10 | THERMOSENSOR ASY | 1 | |
| 11 | CRANK POSITION SEN | 1 | |
| 12 | SCREWPAN HEAD (10 per pack) | 2 | |
| 13 | BRACKET | 1 | |
| 14 | . .BUSH | 1 | |
| 15 | SCREWPAN HEAD | 2 | |
| 16 | WASHER (5 per pack) | 2 | |
| 17 | COLLAR | 1 | |
| 18 | THROTTLE SENSR ASY | 1 | |
| 19 | . . ELECTRONIC SIREN ASS'Y | 2 | |
| 21 | WIREEARTH LEAD | 1 | |
| 22 | GROMMET | 3 | |
| 23 | COLLAR | 3 | |
| 24 | BOLT W/WASHER | 3 | |
| 25 | HOSE (L60) | 1 |
