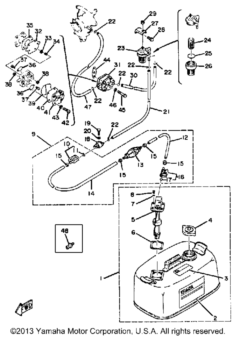
| № | Наименование | Примечание | Кол-во |
|---|---|---|---|
| 1 | FUEL TANK ASSY | 1 | |
| 2 | GRAPHICFUEL TNK 1 | 1 | |
| 3 | GRAPHICFUEL TNK 8 | 1 | |
| 4 | CAP ASY | 1 | |
| 5 | FUEL METER ASSY | 1 | |
| 6 | GASKETFUEL METER | 1 | |
| 7 | SEAL (5 per pack) | 4 | |
| 8 | SCREWPAN HEAD | 4 | |
| 9 | FUEL PIPE COMP. 1 AP | 1 | |
| 10 | FUEL PIPE JOINT COMP | 1 | |
| 11 | O-RING | 1 | |
| 12 | HOSE | 1 | |
| 13 | PRIMER PUMP ASSY (PR) | 1 | |
| 14 | HOSE (L700) | 1 | |
| 15 | BAND 1 | 4 | |
| 16 | FUEL PIPE JOINT COMP | 1 | |
| 18 | FUEL PIPE JOINT COMP | 1 | |
| 19 | BOLT(7U8) (5 per pack) | 1 | |
| 20 | WASHER (5 per pack) | 1 | |
| 21 | HOSE (L250) | 1 | |
| 22 | CLIPSCISSOR | 6 | |
| 23 | FILTER ASSY | 1 | |
| 24 | ELEMENTFILTER | 1 | |
| 25 | O-RING (5 per pack) | 1 | |
| 27 | BRACKET FILTER | 1 | |
| 28 | BOLT (661) | 1 | |
| 29 | NUT (6L2) | 1 | |
| 30 | PIPEFUEL 1 | 1 | |
| 31 | FUEL PUMP ASY | 1 | |
| 32 | DIAPHRAGM | 1 | |
| 33 | SEATSPRING | 1 | |
| 34 | SPRINGDIAPHRAGM | 1 | |
| 35 | GASKET BODY | 1 | |
| 36 | VALVECHECK | 2 | |
| 37 | SCREWPAN HEAD | 2 | |
| 38 | NUT | 2 | |
| 39 | GASKETBODY 2 | 1 | |
| 40 | DIAPHRAGM | 1 | |
| 41 | BODY 2 | 1 | |
| 43 | WASHERSPRING (5 per pack) | 3 | |
| 44 | GASKETFUEL PUMP 1 | 1 | |
| 45 | BOLT (682) (5 per pack) | 2 | |
| 47 | PIPE FUEL 1 | 1 | |
| 48 | JET DRIVE FLUSH | 1 |
