| № | Наименование | Примечание | Кол-во |
|---|---|---|---|
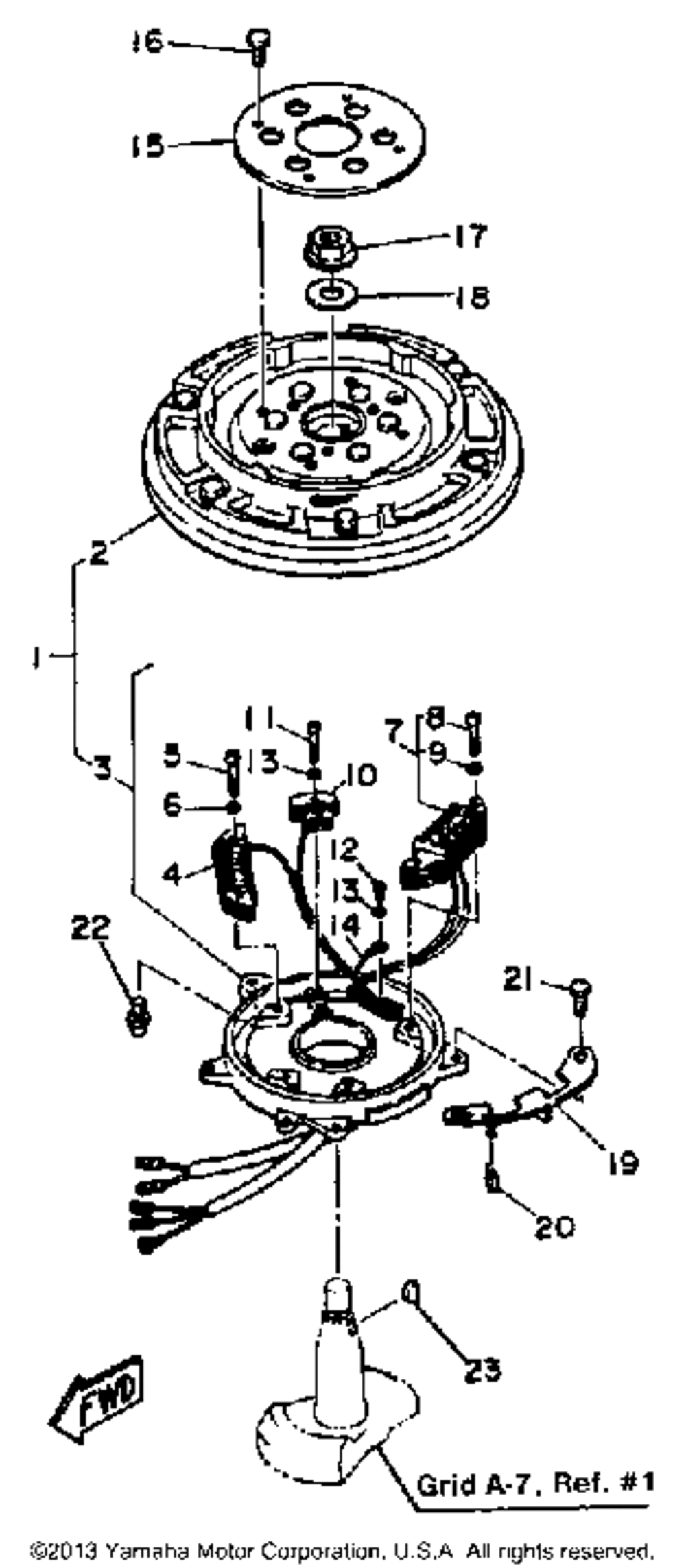
| 2 | ROTOR ASY | 1 | |
| 3 | BASE ASSY. | 1 | |
| 4 | COILIGNITION 1 | 1 | |
| 5 | SCREW PANHEAD | 1 | |
| 6 | WASHERSPRING (5 per pack) | 2 | |
| 7 | LIGHTING COIL ASY | 1 | |
| 10 | COILPULSER | 1 | |
| 11 | SCREW PAN HEAD | 1 | |
| 12 | SCREWPAN HEAD (98502-04006) | 1 | |
| 13 | WASHER PLATE | 3 | |
| 14 | LEAD WIRE ASY | 1 | |
| 15 | COVERHOLE | 1 | |
| 16 | BOLT (661) | 3 | |
| 17 | NUTSPEC'L SHAPE | 1 | |
| 18 | WASHERPLATE | 1 | |
| 19 | STOPPERMAG.BASE | 1 | |
| 20 | CAP | 1 | |
| 21 | BOLT | 2 | |
| 22 | JOINTBALL | 1 | |
| 23 | KEYWOODRUFF | 1 |
