| № | Наименование | Примечание | Кол-во |
|---|---|---|---|
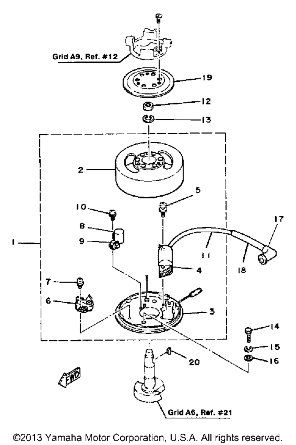
| 2 | ROTOR ASY | 1 | |
| 3 | BASEMAGNETO | 1 | |
| 4 | COILIGNITION 1 | 1 | |
| 5 | SCREWWITH WASHER (5MH) | 2 | |
| 6 | CONTACT BRKR ASY | 1 | |
| 7 | SCREWWITH WASHER (3MH) | 1 | |
| 8 | CONDENSER 1 | 1 | |
| 9 | LUBRICATOR | 1 | |
| 10 | SCREWPAN HEAD | 1 | |
| 11 | H/TENS CORD ASY 1 | 1 | |
| 12 | NUT (3BM) (95301-10600-00) | 1 | |
| 13 | WASHERSPRING (5 per pack) | 1 | |
| 14 | BOLT | 2 | |
| 15 | WASHER (5 per pack) | 2 | |
| 16 | WASHER (5 per pack) | 2 | |
| 17 | PLUG CAP ASY | 1 | |
| 18 | HOSE | 1 | |
| 19 | COVER HOLE (2MH) | 1 | |
| 20 | KEY WOODRUFF | 2 |
