| № | Наименование | Примечание | Кол-во |
|---|---|---|---|
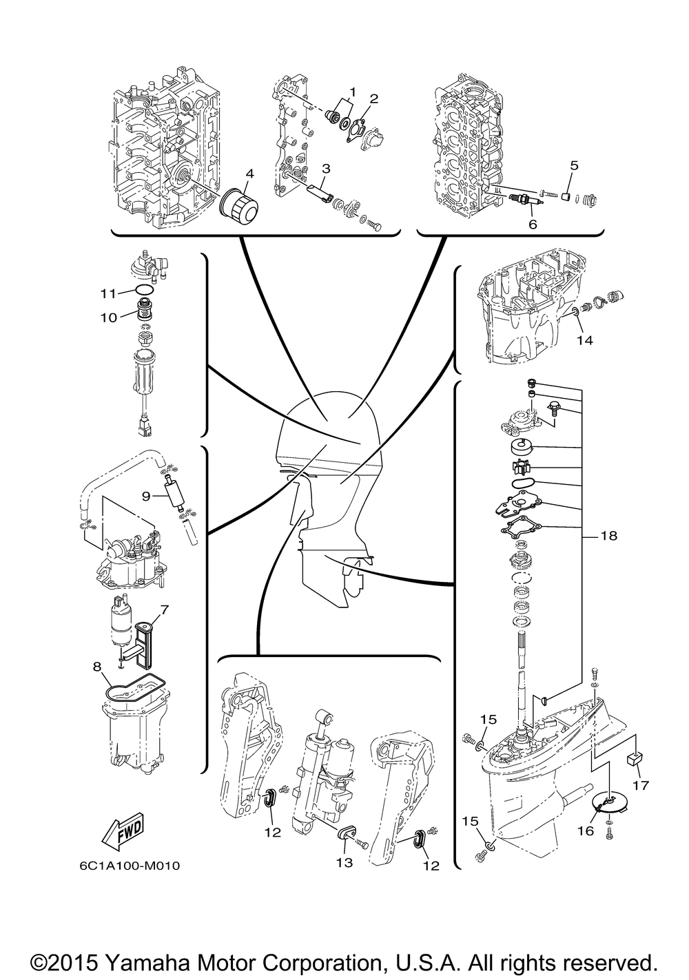
| 1 | THERMOSTAT | 1 | |
| 2 | .GASKET COVER | 1 | |
| 3 | ANODE | 1 | |
| 4 | Фильтр масляный | 1 | |
| 5 | ANODE | 4 | |
| 6 | PLUG SPARK (NGK DPR6EB-9) | 4 | |
| 7 | .FILTER | 1 | |
| 8 | GASKET FLOAT CHAMBE | 1 | |
| 9 | STRAINER 1 | 1 | |
| 10 | ELEMENT FILTER (WIT | 1 | |
| 11 | GASKET | 1 | |
| 12 | ANODE | 2 | |
| 14 | GASKET | 1 | |
| 15 | GASKET (USA) | 2 | |
| 16 | TAB-TRIM | 1 | |
| 17 | ANODE | 1 | |
| 18 | WATER PUMP REP.KIT | 1 |
