| № | Наименование | Примечание | Кол-во |
|---|---|---|---|
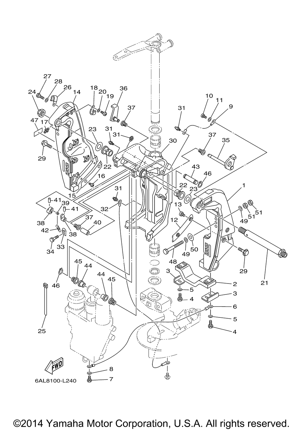
| 1 | BRACKET CLAMP 1 | 1 | |
| 2 | ANODE | 1 | |
| 3 | PLATE | 2 | |
| 4 | BOLT | 4 | |
| 5 | WASHER (5 per pack) | 4 | |
| 6 | WIRELEAD | 1 | |
| 7 | BOLT | 1 | |
| 9 | WIRELEAD 4 | 1 | |
| 10 | SCREWPAN HEAD | 1 | |
| 12 | WASHER FRICTION 1 | 1 | |
| 13 | SCREWPAN HEAD W/W (5 per pack) | 2 | |
| 14 | BRACKET CLAMP | 1 | |
| 15 | WASHER FRICTION | 1 | |
| 17 | NIPPLEGREASE | 1 | |
| 18 | CLAMP | 1 | |
| 21 | BOLT CLAMP BRACKET | 1 | |
| 22 | BUSHSPEC'L NYLON | 2 | |
| 23 | WASHERPLATE | 2 | |
| 24 | NUT SELF-LOCKING | 1 | |
| 25 | CLAMP | 4 | |
| 27 | BOLT | 1 | |
| 29 | BOLT WITH WASHER | 8 | |
| 30 | BRACKET SWIVEL 1 | 1 | |
| 32 | WIRE LEAD 4 | 1 | |
| 33 | HOOK SPRING | 1 | |
| 35 | LEVERTILT STOP | 1 | |
| 36 | LEVERTILT STOP 2 | 1 | |
| 37 | BUSHSPEC'L NYLON (5 per pack) | 3 | |
| 38 | COLLAR DISTANCE | 2 | |
| 39 | PINSPEC'L SHAPE | 1 | |
| 40 | COLLAR | 1 | |
| 41 | PINSPRING | 2 | |
| 42 | SPRING TENSION | 1 | |
| 43 | PIN UPPER SHOCK MOU | 1 | |
| 44 | BUSHSPEC'L NYLON | 2 | |
| 45 | BUSHSPEC'L NYLON | 2 | |
| 46 | CIRCLIP | 2 | |
| 47 | LABEL (SPARKIGNITION) | 1 | |
| 48 | BOLT (L:130MM) (L:130MM) UR | 2 | |
| 48 | BOLT (L:150MM) (L:150MM) | 2 | |
| 49 | WASHERPLATE | 8 | |
| 50 | WASHERPLATE | 4 | |
| 51 | NUT | 8 |
