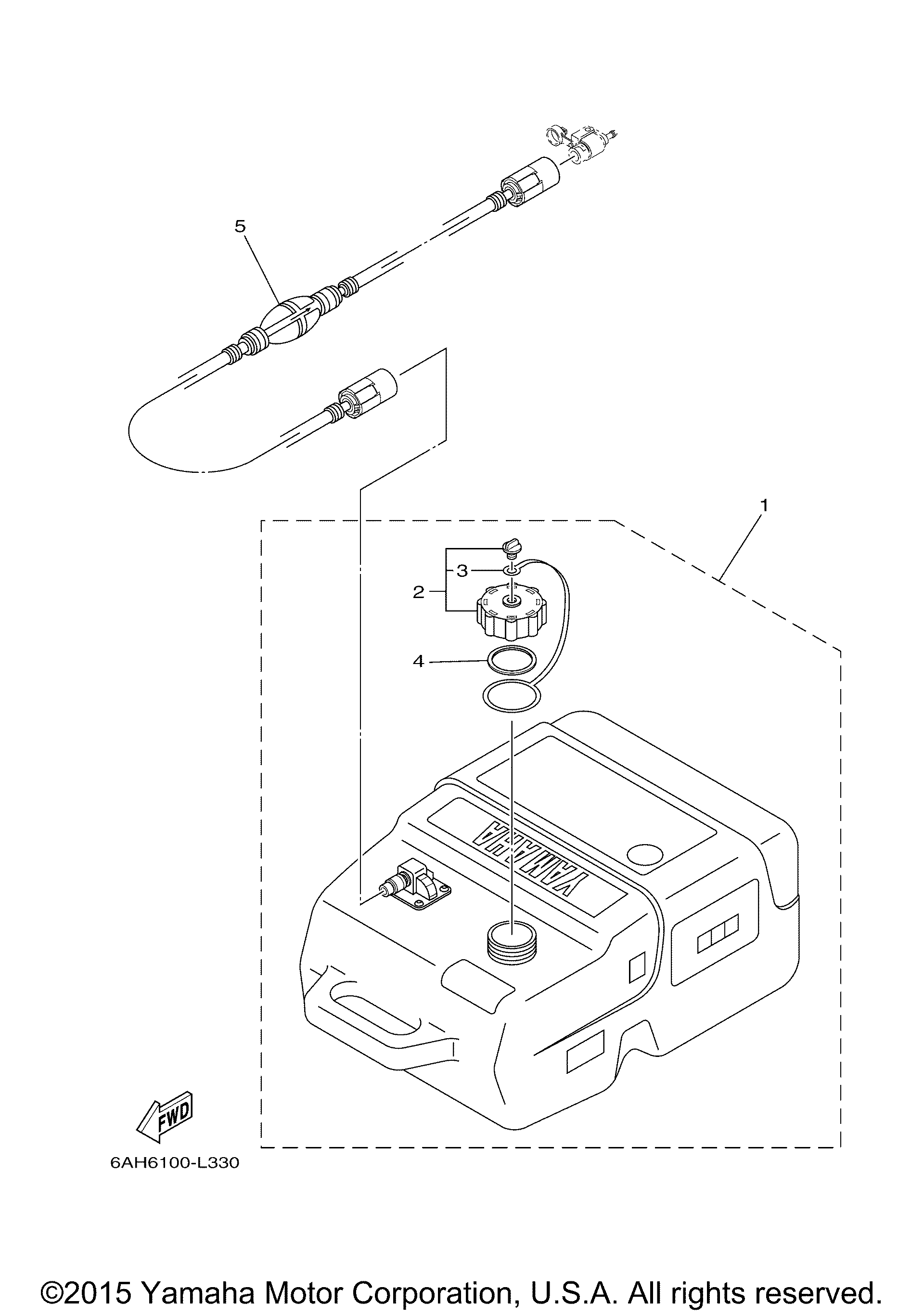
FUEL TANK

Корзина пуста
Наименование Примечание Кол-во
1 25L MARINE FUEL TANK (25L) AP 1
2 . .CAP ASSY 1
3 . . ..GASKET CAP 1 1
4 . .RING 1
5 FUEL PIPE COMP. 1 1