| № | Наименование | Примечание | Кол-во |
|---|---|---|---|
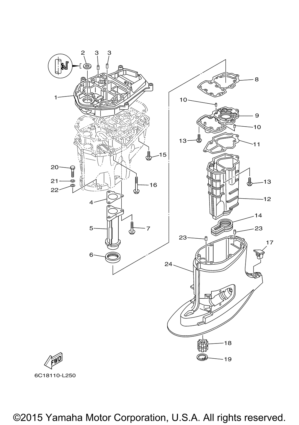
| 1 | GUIDE EXHAUST | 1 | |
| 2 | . .OIL SEAL | 1 | |
| 3 | PINDOWEL (5 per pack) | 2 | |
| 4 | . .GASKET EXHAUST MANIFOLD 1 | 1 | |
| 5 | MANIFOLD EXT. 1 | 1 | |
| 6 | . .GASKET 1 | 1 | |
| 7 | BOLT WITH WASHER | 3 | |
| 8 | . .GASKET EXHAUST MANIFOLD | 1 | |
| 9 | PLATE | 1 | |
| 10 | PINDOWEL (5 per pack) | 2 | |
| 11 | . .GASKET EXHAUST MANIFOLD | 1 | |
| 12 | MUFFLER 1 | 1 | |
| 13 | BOLT WITH WASHER | 6 | |
| 14 | . .GASKET MUFFLER | 1 | |
| 15 | BOLT WITH WASHER | 4 | |
| 16 | BOLT WITH WASHER | 8 | |
| 17 | CAP | 1 | |
| 18 | BUSHING DRIVE SHAFT | 1 | |
| 19 | CIRCLIPR-TYPE | 1 | |
| 20 | BOLT | 6 | |
| 21 | WASHER | 6 | |
| 22 | WASHER | 6 | |
| 23 | PINDOWEL (USA) (5 per pack) | 2 | |
| 24 | CASING UPPER | 1 |
