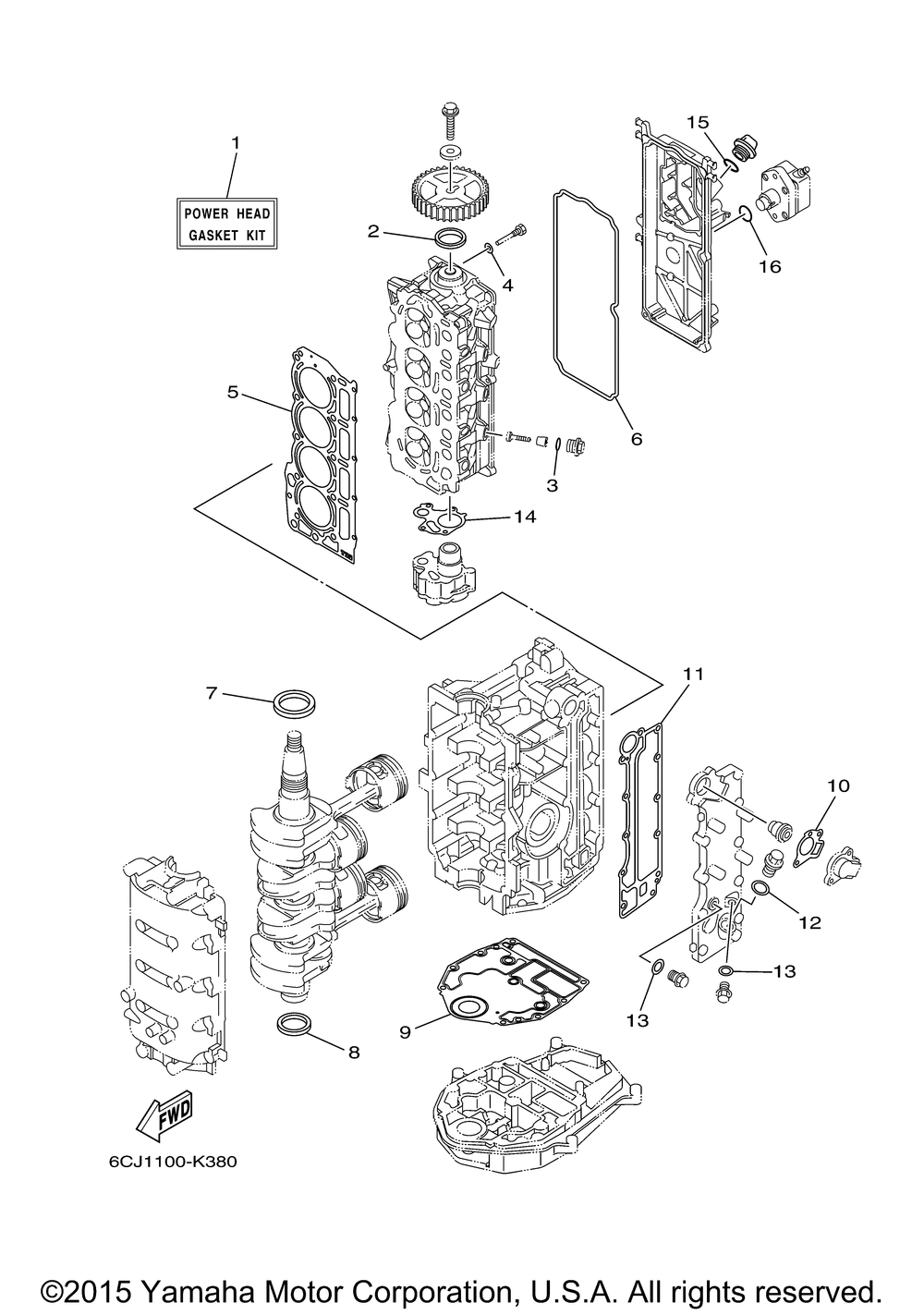
| № | Наименование | Примечание | Кол-во |
|---|---|---|---|
| 1 | POWER HEAD GASKET KI | 1 | |
| 2 | .OIL SEAL | 1 | |
| 3 | O-RING (5 per pack) | 3 | |
| 4 | GASKET | 1 | |
| 5 | GASKET CYLINDER HEA | 1 | |
| 6 | SEAL CYLINDER 2 | 1 | |
| 7 | OIL SEAL | 1 | |
| 8 | .OIL SEAL | 1 | |
| 9 | .GASKET CYLINDER | 1 | |
| 10 | .GASKET COVER | 1 | |
| 11 | .GASKET EXHAUST OUTER COVER | 1 | |
| 12 | GASKET | 1 | |
| 13 | GASKET | 2 | |
| 14 | .GASKET PUMP COVER | 1 | |
| 15 | O-RING | 1 |
