| № | Наименование | Примечание | Кол-во |
|---|---|---|---|
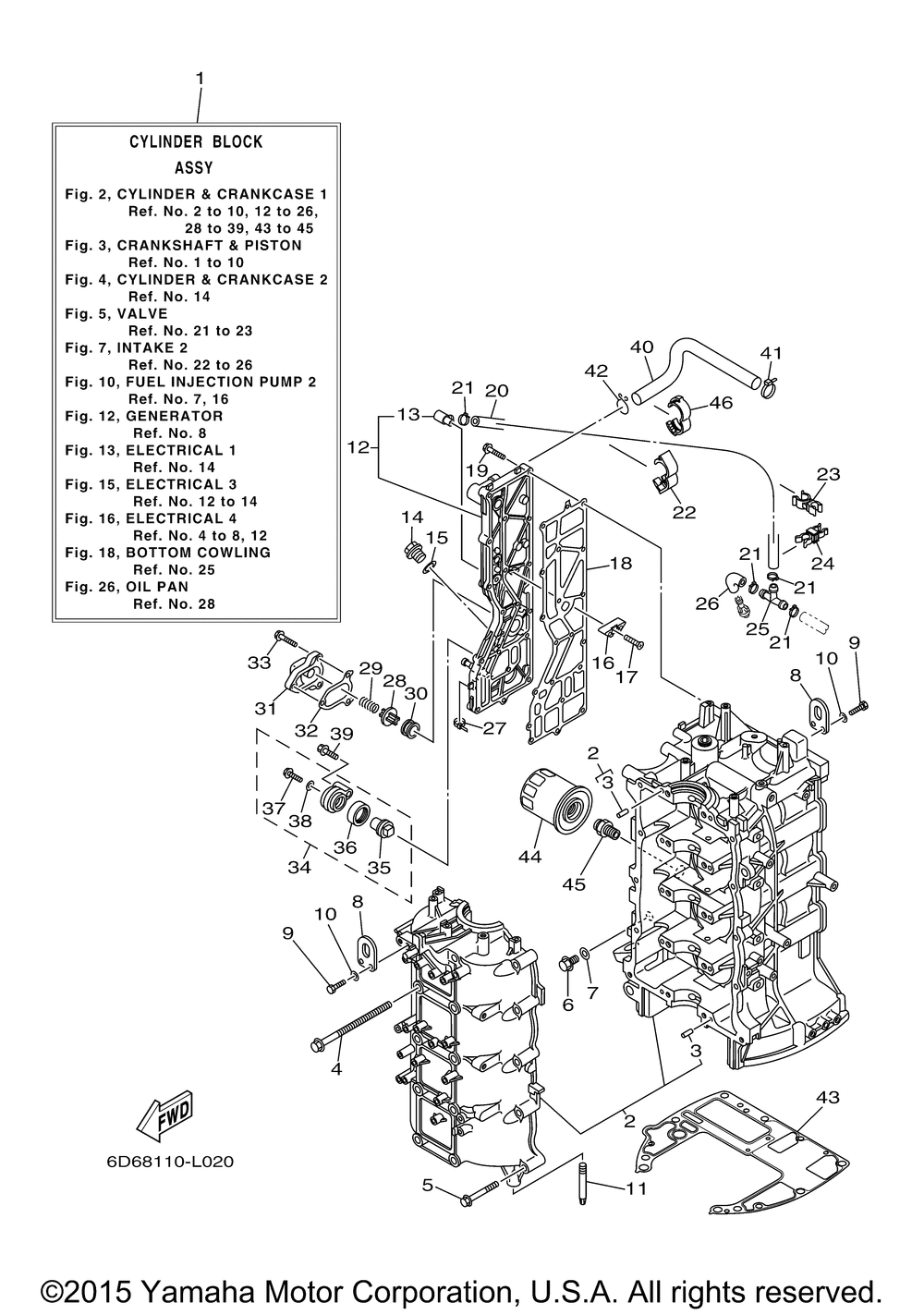
| 1 | CYLINDER BLOCK ASSY | 1 | |
| 2 | CRANKCASE ASSY | 1 | |
| 3 | PINDOWEL (USA) (5 per pack) | 10 | |
| 4 | BOLT WITH WASHER | 10 | |
| 5 | BOLT WITH WASHER | 10 | |
| 6 | PLUGSTRAGHT SCREW | 1 | |
| 7 | GASKET | 1 | |
| 8 | HANGER ENGINE | 2 | |
| 9 | BOLT HEXAGON | 4 | |
| 10 | WASHER (5 per pack) | 4 | |
| 11 | GUIDE 1 | 2 | |
| 12 | OUTER COVER EXHAUST | 1 | |
| 13 | NIPPLEHOSE | 1 | |
| 14 | PLUG STRAIGHT SCR | 1 | |
| 15 | GASKET | 1 | |
| 16 | ANODE | 3 | |
| 17 | SCREW FLAT HEAD | 3 | |
| 18 | GASKET EXHAUST OUTE | 1 | |
| 19 | BOLT WITH WASHER | 18 | |
| 20 | PIPE 1 | 1 | |
| 21 | CLAMP | 4 | |
| 22 | CLAMP | 1 | |
| 23 | CLAMP | 1 | |
| 24 | CLAMP | 1 | |
| 25 | PIPEJOINT 4 | 1 | |
| 26 | PIPE 6 | 1 | |
| 28 | VALVE PRESSURE CONT | 1 | |
| 29 | SPRINGCOMPRESSION | 1 | |
| 30 | GROMMET | 1 | |
| 31 | COVER 1 | 1 | |
| 32 | GASKET | 1 | |
| 33 | BOLT WITH WASHER | 3 | |
| 34 | ANODE COVER ASSY | 1 | |
| 35 | ANODE | 1 | |
| 36 | GROMMET ANODE | 1 | |
| 37 | BOLTWASHER BASED | 1 | |
| 38 | GASKET (6F5) | 1 | |
| 39 | BOLT WITH WASHER | 1 | |
| 40 | HOSE 1 | 1 | |
| 41 | CLAMP | 1 | |
| 42 | CLIP | 1 | |
| 43 | GASKET CYLINDER | 1 | |
| 44 | Фильтр масляный | 1 | |
| 45 | BOLT UNION | 1 | |
| 46 | CLAMP | 1 |
