| № | Наименование | Примечание | Кол-во |
|---|---|---|---|
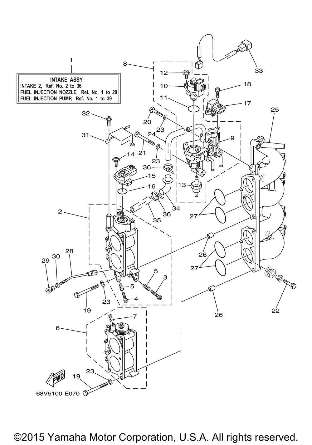
| 1 | INTAKE ASSY PRD 0510 LATER | 1 | |
| 2 | BODY THROTTLE 1 | 1 | |
| 3 | SCREW AIR ADJUSTING | 1 | |
| 4 | SCREW THROTTLE | 1 | |
| 5 | SPRING THROTTLE VAL | 2 | |
| 6 | BODY THROTTLE 2 | 1 | |
| 8 | CONTROL VALVE ASSY | 1 | |
| 9 | BODY ASSY | 1 | |
| 10 | VALVE CONTROL | 1 | |
| 11 | O-RING | 1 | |
| 12 | SCREW 2 | 3 | |
| 13 | FILTER ASSY | 1 | |
| 14 | SCREW 1 | 2 | |
| 15 | THROTTLE SENSOR ASSY | 1 | |
| 16 | O-RING 1 | 1 | |
| 17 | SENSOR PRESSURE | 1 | |
| 18 | SCREW 3 | 2 | |
| 19 | BOLT | 6 | |
| 20 | BOLT 2 | 1 | |
| 21 | BOLT 1 | 2 | |
| 22 | BOLT | 3 | |
| 23 | WASHER | 9 | |
| 24 | PIPE | 1 | |
| 25 | MANIFOLD 1 | 1 | |
| 26 | PINDOWEL | 4 | |
| 27 | O-RING | 4 | |
| 28 | JOINT LINK | 1 | |
| 29 | .JOINT LINK | 1 | |
| 30 | NUT | 1 | |
| 31 | BRACKET 1 | 1 | |
| 32 | SCREW 1 (TPS) | 3 | |
| 33 | WIRE HARNESS ASSY 3 | 1 | |
| 34 | JOINT AIR CLEANER 1 | 1 | |
| 35 | PIPE SILENCER | 1 | |
| 36 | CLAMP 1 | 2 |
