| № | Наименование | Примечание | Кол-во |
|---|---|---|---|
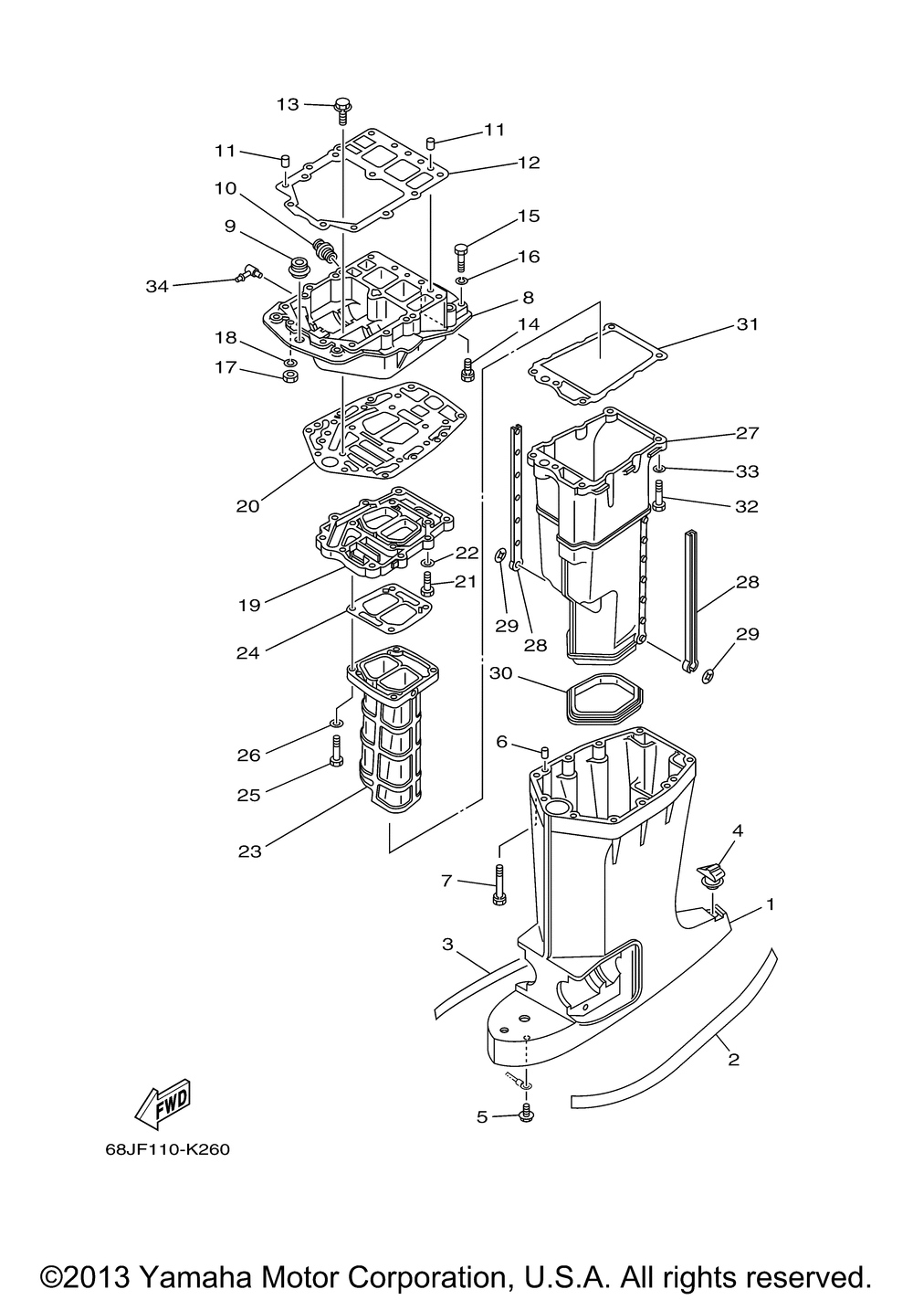
| 1 | CASING UPPER L (20.3") | 1 | |
| 2 | MARK 1 | 1 | |
| 3 | MARK 2 | 1 | |
| 4 | CAP | 1 | |
| 5 | BOLT | 1 | |
| 6 | PINDOWEL (5 per pack) | 2 | |
| 7 | BOLT WITH WASHER | 6 | |
| 8 | GUIDE EXHAUST FLUSHING KIT | 1 | |
| 9 | GROMMET 1 | 1 | |
| 10 | JOINTHOSE 1 | 1 | |
| 12 | GASKET UPPER CASING | 1 | |
| 13 | BOLT | 2 | |
| 14 | BOLT WITH WASHER | 4 | |
| 15 | . .BOLT | 2 | |
| 16 | WASHERSPRING | 2 | |
| 17 | NUT | 2 | |
| 19 | MANIFOLD EXT. 1 | 1 | |
| 20 | GASKET UPPER CASING | 1 | |
| 21 | BOLT | 4 | |
| 22 | WASHER (5 per pack) | 4 | |
| 23 | MANIFOLD EXHAUST | 1 | |
| 24 | GASKET EXHAUST MANI | 1 | |
| 27 | MUFFLER 1 | 1 | |
| 28 | DAMPERMUFFLER | 2 | |
| 29 | NUTSPRING (5 per pack) | 2 | |
| 30 | GASKETMUFFLER | 1 | |
| 31 | GASKETEXH.MANI.3 | 1 | |
| 34 | NIPPLE HOSE | 1 |
