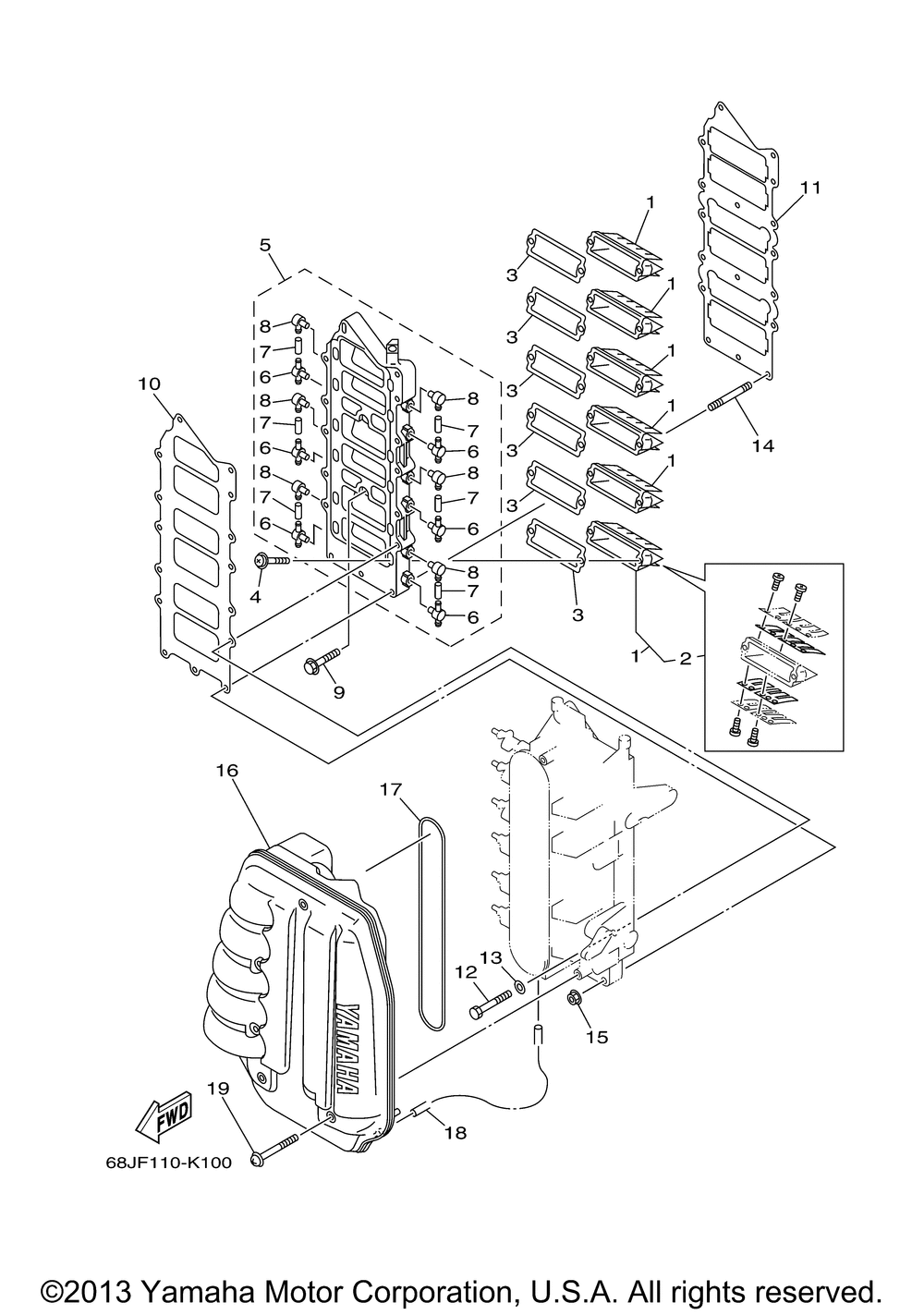
| № | Наименование | Примечание | Кол-во |
|---|---|---|---|
| 1 | REED VALVE ASSY | 6 | |
| 2 | REED SET | 1 | |
| 3 | GASKETVALVE SEAT | 6 | |
| 4 | SCREW WITH WASHER | 12 | |
| 5 | PLATEREED VALVE | 1 | |
| 6 | NIPPLE HOSE | 6 | |
| 7 | HOSE (L200) (L34) | 6 | |
| 8 | CHECK VALVE ASSY | 6 | |
| 9 | BOLT WASHER BASED | 2 | |
| 10 | GASKETMANIFOLD 2 | 1 | |
| 11 | GASKETMANIFOLD 1 | 1 | |
| 12 | BOLT HEX | 11 | |
| 13 | WASHER (5 per pack) | 11 | |
| 14 | BOLT STUD | 2 | |
| 15 | . ..NUT | 2 | |
| 16 | SILENCER ASSY INTAK | 1 | |
| 17 | SEAL | 1 | |
| 18 | HOSE (L250) | 1 | |
| 19 | SCREW W/WASHER (5 per pack) | 6 |
