| № | Наименование | Примечание | Кол-во |
|---|---|---|---|
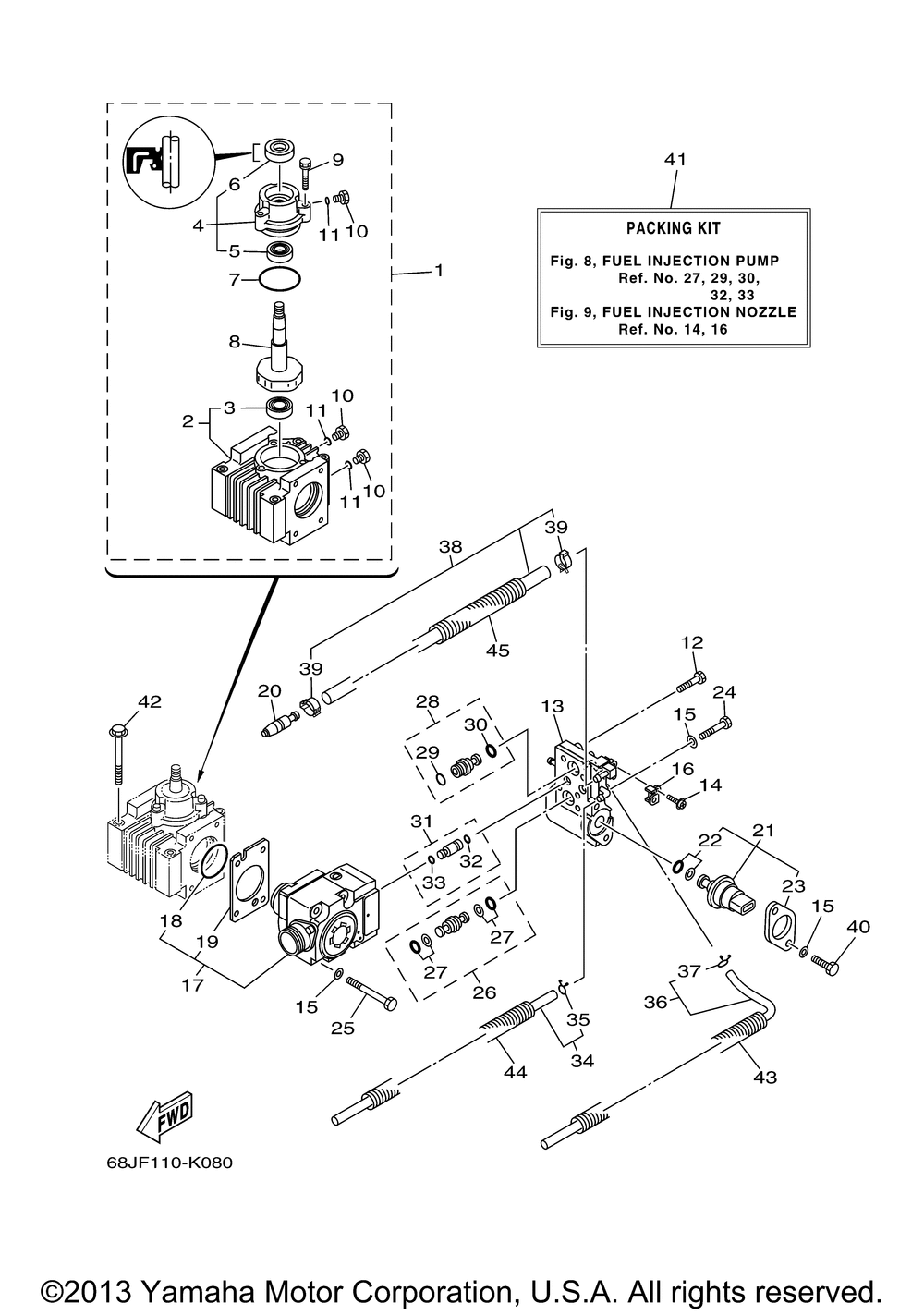
| 1 | CAMSHAFT ASSY 1 | 1 | |
| 2 | PLATE CARTRIDGE I | 1 | |
| 3 | BEARING | 1 | |
| 4 | CAP CAMSHAFT 1 | 1 | |
| 5 | BEARING | 1 | |
| 6 | SEAL | 1 | |
| 7 | O-RING | 1 | |
| 8 | CAMSHAFT 1 | 1 | |
| 9 | BOLT | 3 | |
| 10 | PLUG | 3 | |
| 11 | 0-RING | 3 | |
| 13 | COVER CONTROL RAC | 1 | |
| 14 | SCREWSTOP | 1 | |
| 15 | WASHER 2 | 8 | |
| 16 | PLATE 4 | 1 | |
| 17 | FUEL PUMP ASSY | 1 | |
| 18 | RING SEAL | 1 | |
| 19 | GASKET | 1 | |
| 20 | FUEL PIPE JOINT | 1 | |
| 21 | SENSOR PRESSURE | 1 | |
| 22 | PACKING KIT | 1 | |
| 23 | PLATE | 1 | |
| 24 | BOLT 3 | 2 | |
| 25 | BOLT 1 | 4 | |
| 26 | JOINT 1 | 1 | |
| 27 | GASKET KIT | 2 | |
| 28 | JOINT 2 | 1 | |
| 29 | O-RING | 1 | |
| 30 | SEAL | 1 | |
| 31 | PIPE JOINT | 1 | |
| 33 | SEAL | 1 | |
| 34 | PIPE 2 | 1 | |
| 35 | CLIP | 1 | |
| 36 | PIPE 3 | 1 | |
| 38 | PIPE FUEL 2 | 1 | |
| 39 | CLIP | 2 | |
| 40 | BOLT 1 | 2 | |
| 41 | PACKING KIT | 1 | |
| 42 | BOLT WITH WASHER | 4 | |
| 43 | HOSE (L450) | 1 | |
| 44 | HOSE WITH SPRING | 1 | |
| 45 | HOSE (L320) | 1 |
