| № | Наименование | Примечание | Кол-во |
|---|---|---|---|
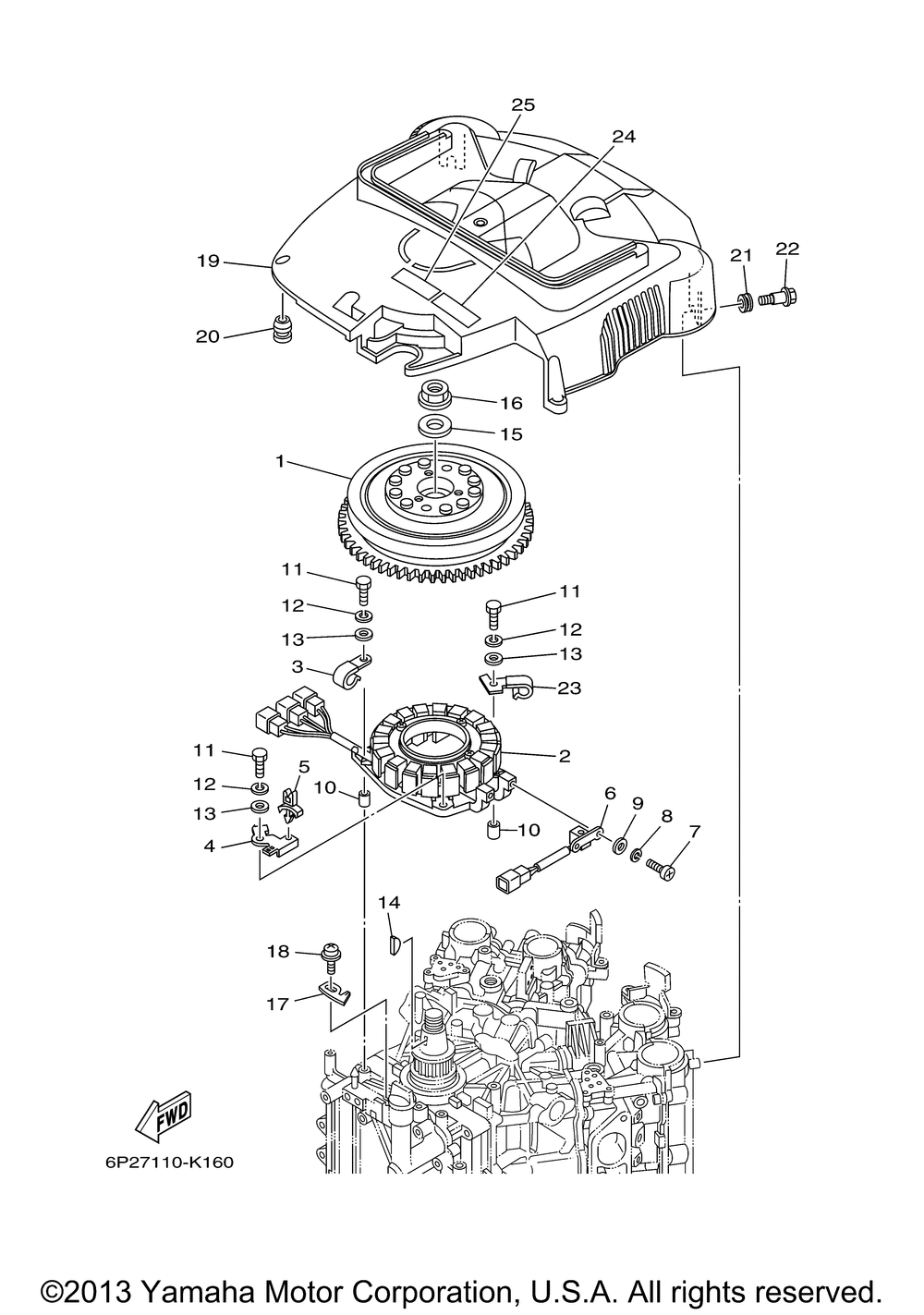
| 1 | ROTOR ASSY | 1 | |
| 2 | BASE ASSY | 1 | |
| 3 | CLAMP | 1 | |
| 4 | PLATE CONNECTOR | 1 | |
| 5 | CLAMP | 1 | |
| 6 | COIL PULSER | 1 | |
| 7 | SCREWPAN HEAD (10 per pack) | 2 | |
| 8 | WASHERSPRING (5 per pack) | 2 | |
| 9 | WASHER (5 per pack) | 2 | |
| 10 | PIN DOWEL | 2 | |
| 11 | BOLT | 4 | |
| 12 | WASHER (5 per pack) | 4 | |
| 13 | WASHER (5 per pack) | 4 | |
| 14 | KEYWOODRUFF | 1 | |
| 15 | WASHER PLATE | 1 | |
| 16 | NUT | 1 | |
| 17 | PLATE TIMING | 1 | |
| 18 | SCREW WITH WASHER | 1 | |
| 19 | COVER FLYWHEEL | 1 | |
| 20 | DAMPER IGNITION COIL | 4 | |
| 21 | GROMMET (5 per pack) | 2 | |
| 22 | BOLT | 2 | |
| 23 | CLAMP | 1 | |
| 24 | MARK CAUTION | 1 | |
| 25 | LABEL SAFETY | 1 |
