| № | Наименование | Примечание | Кол-во |
|---|---|---|---|
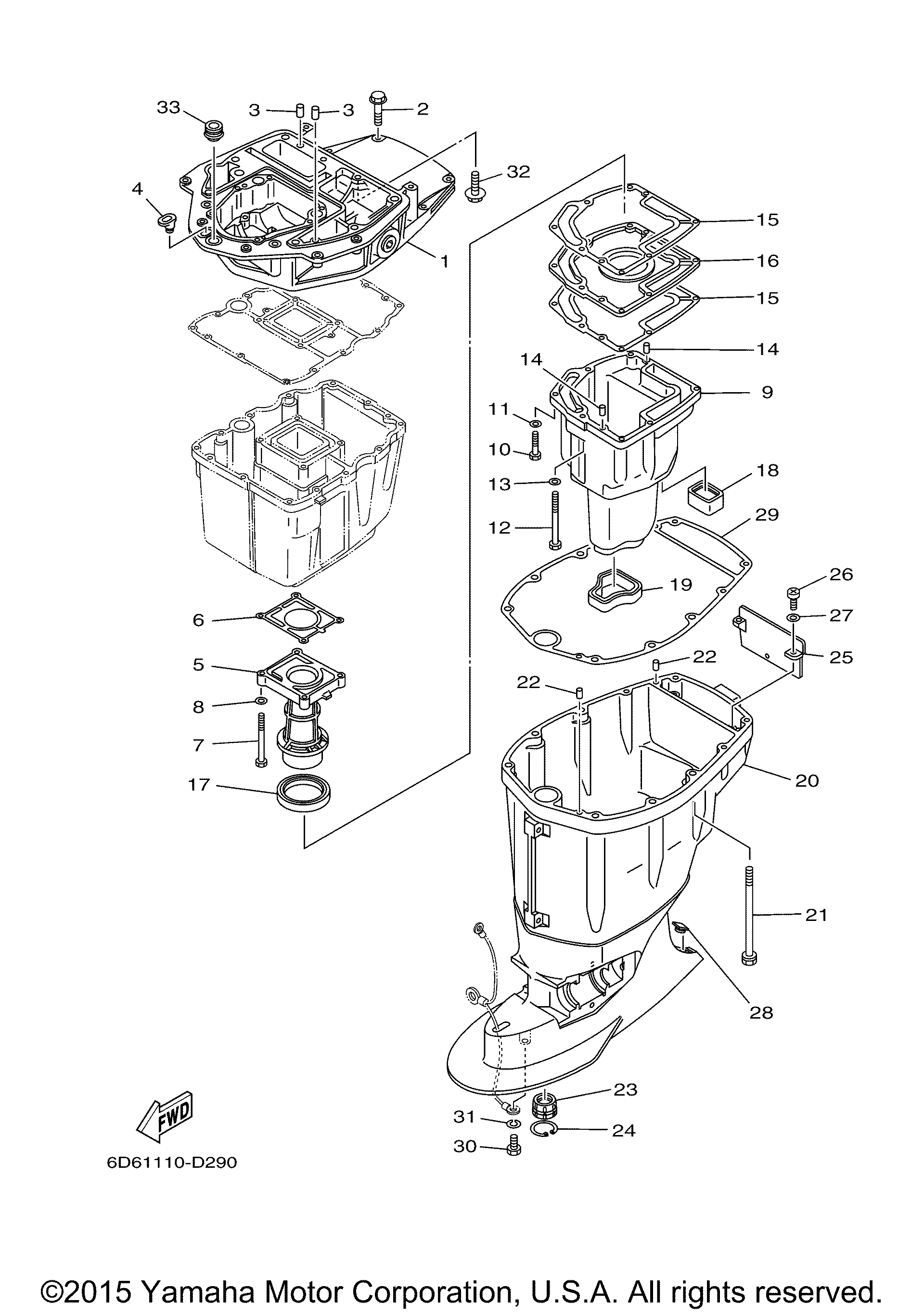
| 1 | GUIDE EXHAUST | 1 | |
| 2 | BOLT WITH WASHER | 4 | |
| 3 | PINDOWEL (5 per pack) | 2 | |
| 4 | GROMMET 4 | 1 | |
| 5 | MANIFOLD EXT. 1 | 1 | |
| 6 | GASKET EXHAUST MANI | 1 | |
| 8 | WASHER (5 per pack) | 4 | |
| 9 | MUFFLER 1 | 1 | |
| 10 | BOLT | 6 | |
| 14 | PIN DOWEL | 2 | |
| 15 | GASKET EXHAUST MANI | 2 | |
| 16 | PLATE | 1 | |
| 17 | SEAL EXT. 1 | 1 | |
| 18 | SEAL | 1 | |
| 19 | GASKET MUFFLER | 1 | |
| 20 | CASING UPPER | 1 | |
| 21 | BOLT WITH WASHER | 6 | |
| 23 | BUSHING DRIVE SHAFT | 1 | |
| 24 | CIRCLIPR-TYPE | 1 | |
| 25 | COVER UPPER CASING | 1 | |
| 26 | SCREWPAN HEAD | 2 | |
| 27 | WASHER (5 per pack) | 2 | |
| 28 | CAP | 1 | |
| 29 | GASKET UPPER CASING | 1 | |
| 30 | BOLT | 1 | |
| 31 | WASHERSPRING | 1 | |
| 32 | BOLT WITH WASHER | 2 | |
| 33 | GROMMET | 1 |
