| № | Наименование | Примечание | Кол-во |
|---|---|---|---|
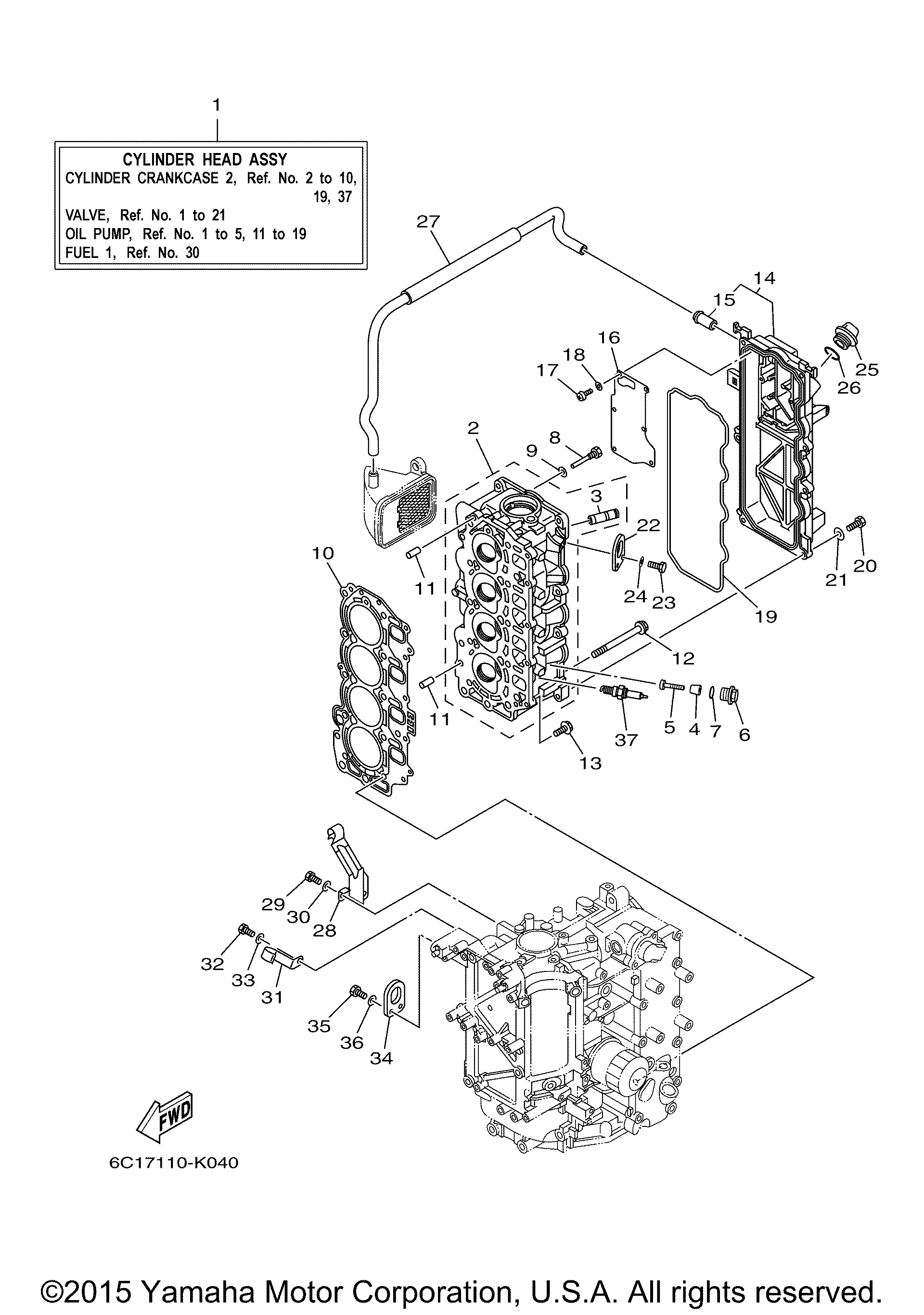
| 1 | CYLINDER HEAD COMPLE | 1 | |
| 3 | . .GUIDE VALVE 1 | 8 | |
| 4 | ANODE | 4 | |
| 5 | SCREW PANHEAD | 4 | |
| 6 | PLUG BLIND | 4 | |
| 7 | O-RING (5 per pack) | 4 | |
| 8 | BOLT | 1 | |
| 9 | GASKET | 1 | |
| 10 | .GASKET CYLINDER HEAD 1 | 1 | |
| 11 | PIN DOWEL | 2 | |
| 12 | BOLT FLANGE | 10 | |
| 13 | BOLT WITH WASHER | 5 | |
| 14 | COVER CYLINDER HEAD | 1 | |
| 15 | . .PIPE JOINT | 1 | |
| 16 | COVER BREATHER | 1 | |
| 17 | SCREWPANHEAD | 6 | |
| 18 | WASHER (JF2) | 6 | |
| 19 | .SEAL CYLINDER 2 | 1 | |
| 20 | BOLT HEXAGON | 7 | |
| 21 | WASHER (5 per pack) | 7 | |
| 22 | HANGER ENGINE | 1 | |
| 25 | PLUGOIL | 1 | |
| 26 | O-RING | 1 | |
| 27 | HOSE BREATHER 1 | 1 | |
| 28 | HOLDER | 1 | |
| 29 | BOLT | 1 | |
| 31 | HOLDER | 1 | |
| 37 | PLUG SPARK (NGK DPR6EB-9) | 4 |
