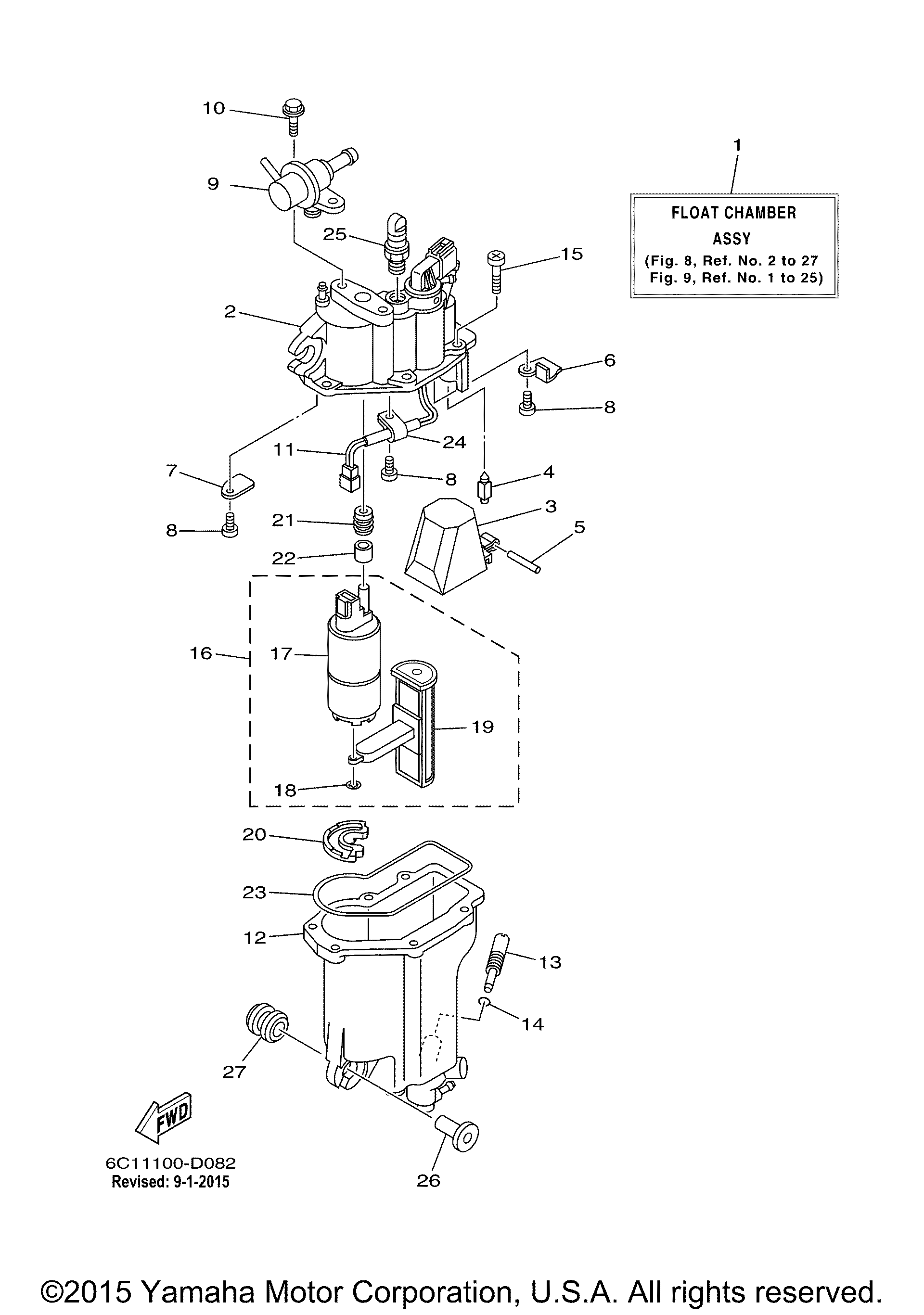
FUEL INJECTION PUMP 1

Корзина пуста