| № | Наименование | Примечание | Кол-во |
|---|---|---|---|
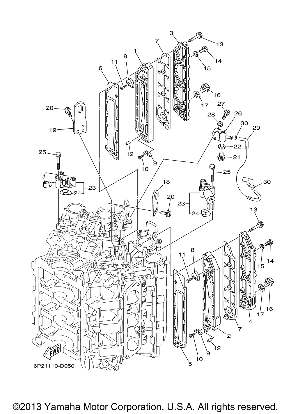
| 1 | INNER COVER EXHAUST | 1 | |
| 2 | INNER COVEREXHAUST | 1 | |
| 3 | OUTER COVER EXHAUST | 1 | |
| 4 | OUTER COVER EXHAUST | 1 | |
| 5 | .GASKET EXHAUST INNER COVER | 1 | |
| 6 | .GASKET EXHAUST INNER COVER | 1 | |
| 7 | .GASKET EXHAUST OUTER COVER | 2 | |
| 8 | ANODE | 2 | |
| 9 | ANODE | 2 | |
| 10 | SCREWFLAT HEAD | 2 | |
| 11 | SCREW COUNTERSUNK | 2 | |
| 12 | PINSPRING | 2 | |
| 13 | BOLT WITH WASHER | 28 | |
| 14 | BOLT | 4 | |
| 15 | GASKET | 4 | |
| 16 | PLUG STRAIGHT SCR | 2 | |
| 17 | GASKET | 2 | |
| 18 | HANGER ENGINE | 1 | |
| 19 | HANGER ENGINE 2 | 1 | |
| 20 | BOLT WITH WASHER | 6 | |
| 21 | PLUGSTRAGHT SCREW | 1 | |
| 22 | GASKET | 1 | |
| 23 | SOLENOID VALVE ASSY | 2 | |
| 24 | FILTER | 1 | |
| 25 | BOLT WITH WASHER | 6 | |
| 26 | CONNECTOR | 1 | |
| 27 | BOLT | 2 | |
| 28 | WASHER (5 per pack) | 2 | |
| 29 | PIPE FUEL 1 | 1 | |
| 30 | CLIP | 2 |
