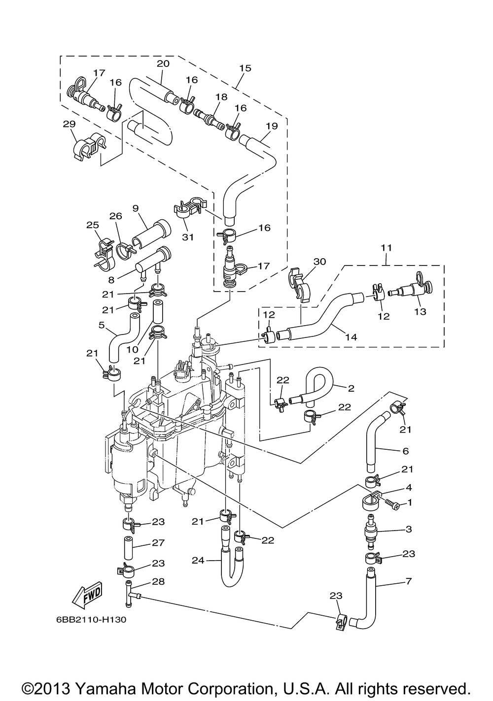
| № | Наименование | Примечание | Кол-во |
|---|---|---|---|
| 1 | SCREWPAN HEAD | 1 | |
| 2 | PIPE FUEL 6 | 1 | |
| 3 | RELIEF VALVE ASSY | 1 | |
| 4 | CLAMP FUEL PIPE 2 | 1 | |
| 5 | PIPE 13 | 1 | |
| 6 | PIPE 11 | 1 | |
| 7 | PIPE 12 | 1 | |
| 8 | FILTER FUEL | 1 | |
| 9 | CAP | 1 | |
| 10 | PIPE 14 | 1 | |
| 11 | HOSE ASSY 1 | 1 | |
| 12 | CLIP | 2 | |
| 13 | FUEL PIPE JOINT | 1 | |
| 14 | PIPE FUEL 4 | 1 | |
| 15 | HOSE ASSY 2 | 1 | |
| 18 | PIPE JOINT | 1 | |
| 19 | PIPE FUEL 3 | 1 | |
| 20 | PIPE FUEL 2 | 1 | |
| 22 | CLIP | 3 | |
| 23 | CLIP | 4 | |
| 24 | PIPE 5 | 1 | |
| 25 | CLAMP 1 | 1 | |
| 26 | CLAMP | 1 | |
| 27 | PIPE 7 | 1 | |
| 28 | PIPEJOINT 4 | 1 | |
| 29 | CLAMP | 1 | |
| 30 | CLAMP | 1 | |
| 31 | CLAMP | 1 |
