| № | Наименование | Примечание | Кол-во |
|---|---|---|---|
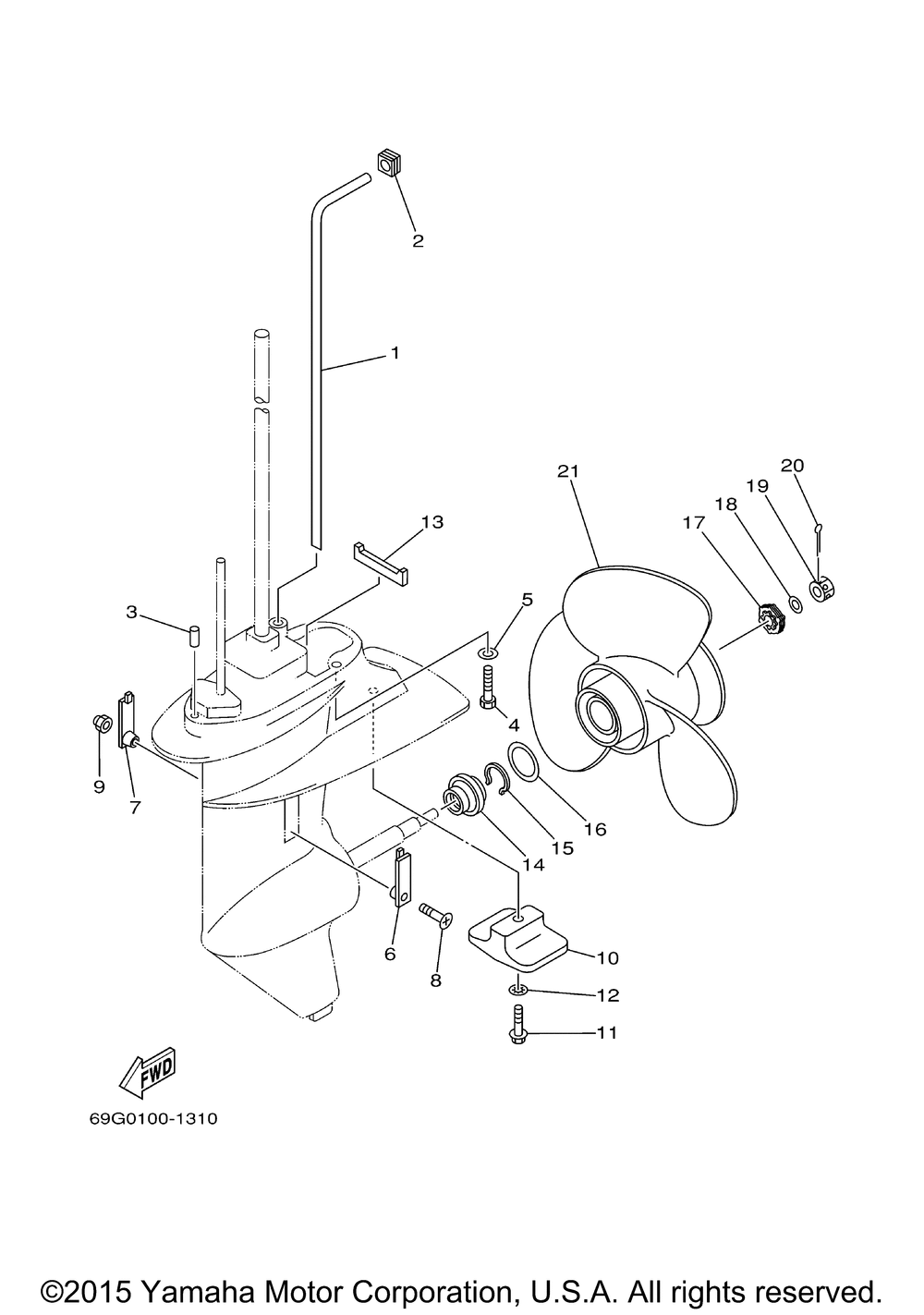
| 1 | TUBE WATER 1 | 1 | |
| 1 | TUBE WATER 1 | 0 | |
| 2 | DAMPER WATER SEAL 1 | 1 | |
| 3 | .PIN DOWEL | 2 | |
| 4 | BOLT | 4 | |
| 5 | WASHER (5 per pack) | 4 | |
| 6 | COVER WATER INLET 1 | 1 | |
| 7 | COVER WATER INLET 2 | 1 | |
| 8 | SCREW COUNTERSUNK | 1 | |
| 9 | NUTSELF-LOCKING | 1 | |
| 10 | ANODE | 1 | |
| 11 | BOLT | 1 | |
| 12 | Washer, Internal Tooth | 1 | |
| 13 | DAMPER SEAL | 1 | |
| 14 | SPACER 1 | 1 | |
| 15 | CIRCLIP | 1 | |
| 16 | WASHER PLATE | 1 | |
| 17 | SPACER 2 | 1 | |
| 18 | . .WASHER PLATE | 1 | |
| 19 | NUT CASTLE | 1 | |
| 20 | PIN. COTTER | 1 | |
| 21 | PROPELLER (3X11-3/4 (3X11-3/4"X5-3/4"-R) UR T8 | 1 |
