| № | Наименование | Примечание | Кол-во |
|---|---|---|---|
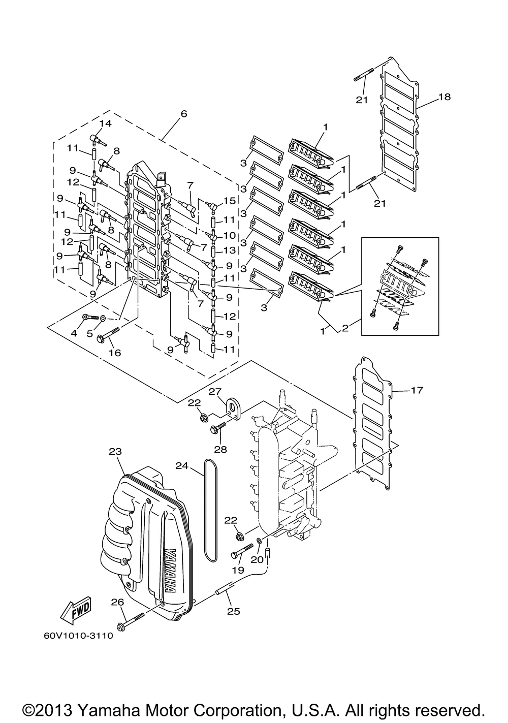
| 1 | REED VALVE ASSY | 6 | |
| 2 | REED SET | 1 | |
| 3 | GASKET VALVE SEAT | 6 | |
| 4 | SCREW PAN HEAD | 12 | |
| 5 | WASHER (5 per pack) | 12 | |
| 6 | PLATEREED VALVE | 1 | |
| 7 | NOZZLE | 3 | |
| 8 | NOZZLE | 3 | |
| 9 | VALVE CHECK | 9 | |
| 10 | CHECK VALVE ASSY | 1 | |
| 11 | HOSE (L200) (L34) | 6 | |
| 12 | HOSE (L200) (L60) | 3 | |
| 13 | HOSE (L65) | 1 | |
| 14 | VALVE CHECK | 1 | |
| 15 | CHECK VALVE ASSY | 1 | |
| 16 | BOLT WASHER BASED | 2 | |
| 17 | GASKET MANIFOLD 2 | 1 | |
| 18 | GASKET MANIFOLD 1 | 1 | |
| 19 | BOLT HEX | 12 | |
| 20 | WASHER (5 per pack) | 12 | |
| 21 | BOLT STUD | 2 | |
| 22 | . ..NUT | 2 | |
| 23 | SILENCER ASSY INTAK | 1 | |
| 24 | SEAL | 1 | |
| 25 | HOSE (L250) | 1 | |
| 26 | SCREW W/WASHER (5 per pack) | 6 | |
| 27 | HANGER ENGINE | 1 | |
| 28 | BOLT WITH WASHER | 1 |
