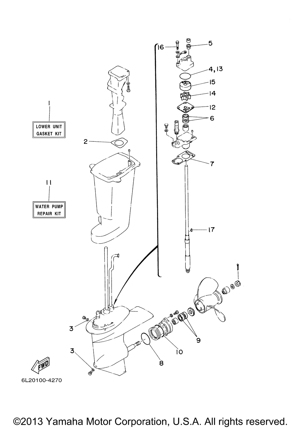
| № | Наименование | Примечание | Кол-во |
|---|---|---|---|
| 1 | GSKT KIT LWR UNIT | 1 | |
| 2 | GASKETEXH.MANI.2 | 1 | |
| 3 | GASKET (USA) | 2 | |
| 4 | O-RING | 1 | |
| 5 | WATER SEAL | 1 | |
| 6 | OIL SEALS-TYPE | 2 | |
| 7 | PACKINGLOWER CASE | 1 | |
| 8 | O-RING | 1 | |
| 9 | OIL SEALS-TYPE | 2 | |
| 10 | O-RING | 1 | |
| 11 | WTR.PUMP REPAIR KT | 1 | |
| 12 | OUTER PLATECART. | 1 | |
| 14 | IMPELLER | 1 | |
| 15 | INSERT CARTRIDGE | 1 | |
| 16 | BOLT | 4 | |
| 17 | KEYWOODRUFF | 1 |
