| № | Наименование | Примечание | Кол-во |
|---|---|---|---|
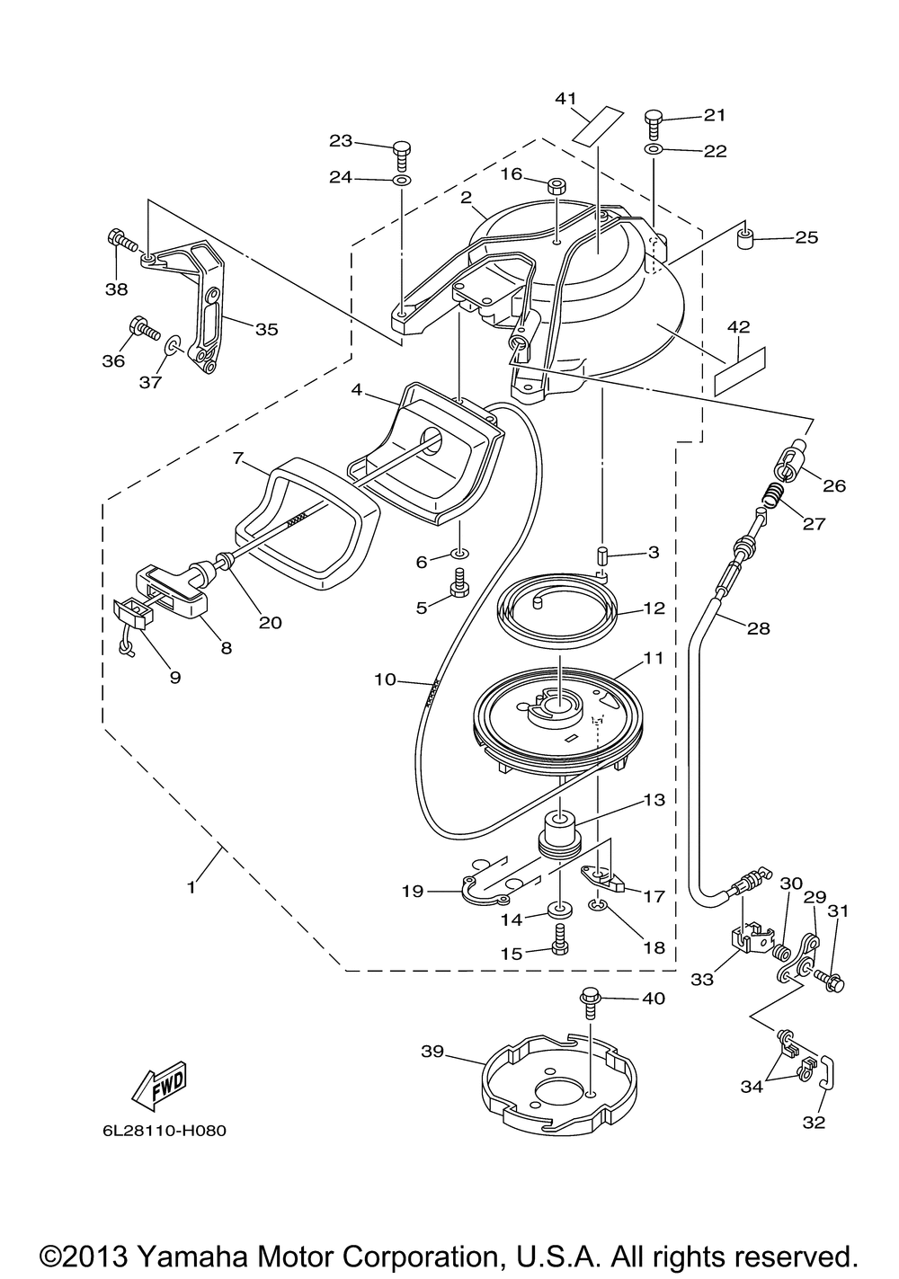
| 1 | STARTER ASSY | 1 | |
| 2 | CASESTARTER | 1 | |
| 3 | PINSPRING | 1 | |
| 4 | GUIDE ROPE | 1 | |
| 5 | BOLT (GA1) (5 per pack) | 2 | |
| 6 | WASHER (5 per pack) | 2 | |
| 7 | SEALRUBBER 2 | 1 | |
| 8 | HANDLESTARTER | 1 | |
| 9 | COVER | 1 | |
| 10 | ROPE STARTER | 1 | |
| 11 | DRUMSHEAVE | 1 | |
| 12 | SPRINGSPIRAL | 1 | |
| 13 | SHAFT STARTER | 1 | |
| 14 | WASHER PLATE | 1 | |
| 15 | BOLT (661) | 1 | |
| 16 | NUT | 1 | |
| 17 | PAWLDRIVE | 1 | |
| 18 | . .CIRCLIP | 1 | |
| 19 | SPRINGPAWL DRIVE | 1 | |
| 20 | . .DAMPER | 1 | |
| 21 | BOLT | 1 | |
| 23 | BOLT | 2 | |
| 25 | PINDOWEL | 1 | |
| 26 | PLUNGER STARTER STOP | 1 | |
| 27 | SPRING COMPRESSION | 1 | |
| 28 | CABLE CMPLSTR STP | 1 | |
| 29 | ARM | 1 | |
| 30 | COLLAR | 1 | |
| 31 | BOLTWITH WASHER | 1 | |
| 32 | LINK | 1 | |
| 33 | STAY 4 | 1 | |
| 34 | JOINTCHOKE LEVER | 2 | |
| 35 | STAY 2 | 1 | |
| 36 | BOLT (661) | 1 | |
| 37 | WASHER (5 per pack) | 1 | |
| 38 | BOLT HEXAGON | 1 | |
| 39 | PULLEY STARTER | 1 | |
| 40 | BOLTWASHER BASED | 3 | |
| 41 | LABEL WARNING | 1 | |
| 42 | MARK | 0 |
