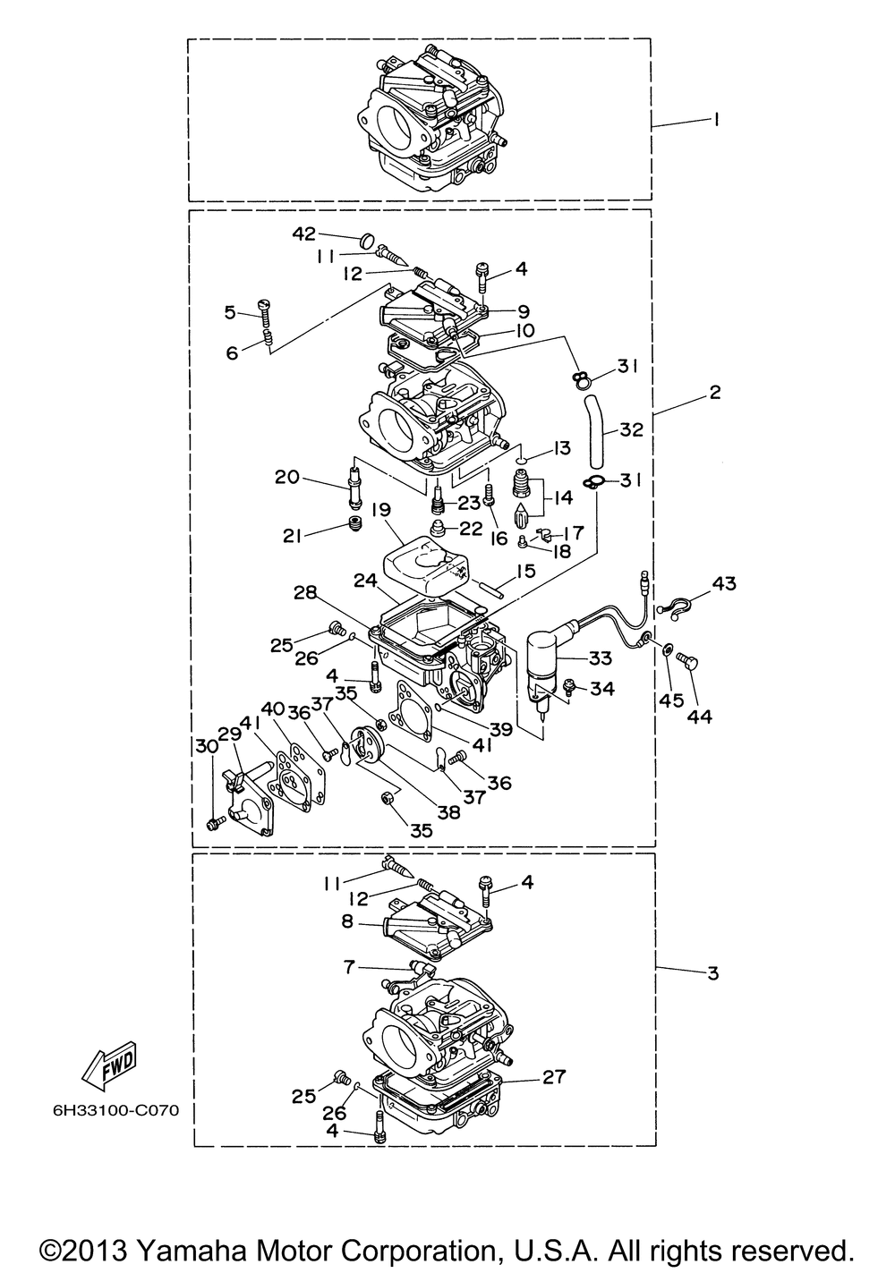
| № | Наименование | Примечание | Кол-во |
|---|---|---|---|
| 1 | CARBURETOR ASSY 1 | 1 | |
| 2 | CARBURETOR ASSY 2 | 1 | |
| 3 | CARBURETOR ASSY 3 | 1 | |
| 4 | SCREWW/WASHER | 21 | |
| 5 | . .SCREW STOP | 1 | |
| 6 | . .SPRING COMPRESSION | 1 | |
| 7 | COLLAR tahos_3 | 1 | |
| 8 | PLATE tahos_13 | 2 | |
| 9 | PLATE tahos_2 | 1 | |
| 10 | O-RING | 3 | |
| 11 | SCREWPILOT | 3 | |
| 12 | SPRING | 4 | |
| 13 | O-RING | 3 | |
| 14 | VALVE SEAT | 3 | |
| 15 | . .PIN FLOAT ARM | 3 | |
| 16 | SCREWPAN HEAD | 3 | |
| 17 | CLIP | 3 | |
| 18 | PINFLOAT | 3 | |
| 19 | FLOAT | 3 | |
| 20 | JETNEEDLE | 3 | |
| 21 | JETMAIN (tahos_150) | 3 | |
| 22 | . CAP | 3 | |
| 23 | JET (tahos_75) | 3 | |
| 24 | GASKETFLOAT CHMBR | 3 | |
| 25 | DRAIN SCREW | 3 | |
| 26 | O-RING | 3 | |
| 27 | BODYFLOAT CHAMBER tahos_1 3 | 2 | |
| 28 | BODY FLOAT CHMBR tahos_2 | 1 | |
| 29 | COVER tahos_2 | 1 | |
| 30 | SCREW | 4 | |
| 31 | CLIP tahos_2 | 2 | |
| 32 | PIPE | 1 | |
| 33 | STARTER ASSY tahos_2 | 1 | |
| 34 | . .SCREW PAN HEAD | 2 | |
| 35 | NUT (5 per pack) | 2 | |
| 36 | . .SCREW BIND | 2 | |
| 37 | . .VALVE CHECK | 2 | |
| 38 | BODY 2 tahos_2 | 1 | |
| 39 | O-RING tahos_2 (5 per pack) | 1 | |
| 40 | DIAPHRAGM tahos_2 | 1 | |
| 41 | GASKET BODY tahos_2 | 2 | |
| 42 | . .PLUG | 3 | |
| 43 | CLAMP | 1 | |
| 44 | BOLT (661) | 1 | |
| 45 | WASHER (5 per pack) | 1 |
