| № | Наименование | Примечание | Кол-во |
|---|---|---|---|
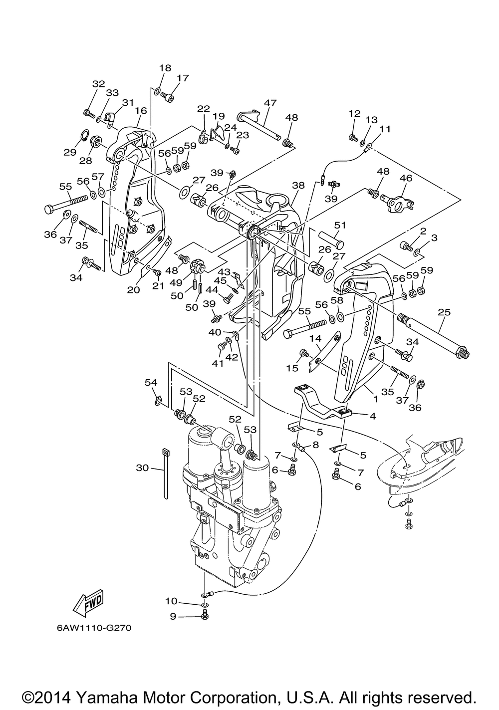
| 1 | BRACKET CLAMP 1 | 1 | |
| 2 | BOLTSOCKET | 1 | |
| 3 | WASHER PLATE | 1 | |
| 4 | ANODE | 1 | |
| 5 | PLATE | 2 | |
| 6 | BOLT | 4 | |
| 7 | WASHER (5 per pack) | 4 | |
| 8 | WIRELEAD | 1 | |
| 9 | BOLT | 1 | |
| 12 | SCREWPAN HEAD | 1 | |
| 14 | WASHER FRICTION 1 | 1 | |
| 15 | SCREWPAN HEAD W/W (5 per pack) | 2 | |
| 16 | BRACKET CLAMP 2 | 1 | |
| 19 | PLATE CLAMP BRACKET | 1 | |
| 20 | WASHER FRICTION | 1 | |
| 22 | CLAMP | 1 | |
| 25 | BOLT CLAMP BRACKET | 1 | |
| 26 | BUSH | 2 | |
| 27 | WASHER PLATE | 2 | |
| 28 | NUT SELF-LOCKING | 1 | |
| 29 | CIRCLIP | 1 | |
| 30 | CLAMP | 3 | |
| 32 | BOLT | 1 | |
| 34 | BOLT WITH WASHER | 6 | |
| 35 | BOLT STUD | 2 | |
| 36 | NUTSELF-LOCKING | 2 | |
| 37 | WASHER PLATE | 2 | |
| 38 | BRACKET SWIVEL 1 | 1 | |
| 39 | NIPPLEGREASE | 3 | |
| 40 | WIRE LEAD 5 | 1 | |
| 43 | SPRING | 1 | |
| 46 | LEVER TILT STOP 1 | 1 | |
| 47 | LEVER TILT STOP 2 | 1 | |
| 48 | BUSHSPEC'L NYLON (5 per pack) | 3 | |
| 49 | COLLAR DISTANCE | 1 | |
| 50 | PINSPRING | 2 | |
| 51 | PIN UPPER SHOCK MOU | 1 | |
| 52 | BUSHSPEC'L NYLON | 2 | |
| 53 | BUSHSPEC'L NYLON | 2 | |
| 54 | CIRCLIP | 1 | |
| 55 | BOLT (150MM) | 6 | |
| 55 | BOLT (170MM) | 2 | |
| 56 | WASHER PLATE | 12 | |
| 57 | WASHERPLATE | 2 | |
| 58 | WASHER PLATE | 4 | |
| 59 | NUT | 12 |
