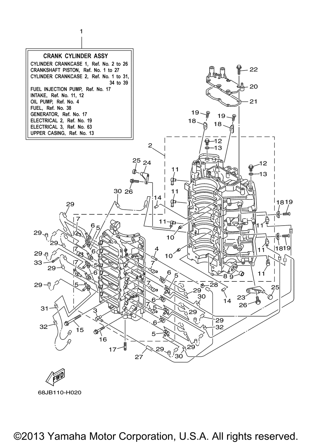
| № | Наименование | Примечание | Кол-во |
|---|---|---|---|
| 1 | CRANK CYLINDER ASSY | 1 | |
| 2 | CRANKCASE ASSY | 1 | |
| 3 | NIPPLE HOSE | 1 | |
| 4 | PIPEJOINT | 1 | |
| 5 | NIPPLE HOSE | 6 | |
| 6 | CHECK VALVE ASSY | 6 | |
| 7 | NOZZLE | 6 | |
| 8 | BUSH BIMETAL FORMED | 1 | |
| 9 | BUSHBIMETAL FORM | 1 | |
| 10 | LOCK BEARING | 2 | |
| 11 | CHECK VALVE ASSY | 6 | |
| 12 | PLUGSTRAGHT SCREW | 2 | |
| 13 | GASKET | 2 | |
| 14 | PINDOWEL (5 per pack) | 2 | |
| 15 | BOLTWASHER BASED | 8 | |
| 16 | BOLT WITH WASHER | 12 | |
| 17 | BOLTSTUD | 2 | |
| 18 | ANODE | 8 | |
| 19 | SCREWFLAT HEAD | 8 | |
| 20 | COVER | 1 | |
| 21 | GASKET 1 | 1 | |
| 22 | BOLT WITH WASHER | 6 | |
| 23 | STOPPER | 1 | |
| 24 | STOPPER | 1 | |
| 25 | DAMPER UPPER MOUNT RUBBER | 2 | |
| 27 | HOSE (L510) | 1 | |
| 28 | CLIP | 2 | |
| 29 | HOSE (L200) (L90) | 12 | |
| 30 | HOSE (L280) | 3 | |
| 31 | HOSE (L340) | 1 | |
| 32 | HOSE (L310) | 2 | |
| 33 | CLAMP | 1 |
