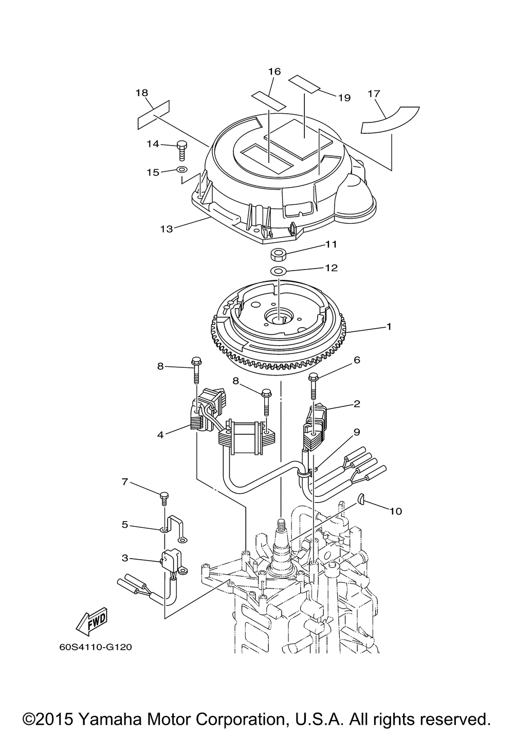
| № | Наименование | Примечание | Кол-во |
|---|---|---|---|
| 1 | ROTOR ASSY F8 | 1 | |
| 2 | COIL CHARGE | 1 | |
| 3 | COIL PULSER | 1 | |
| 4 | COIL LIGHTING | 1 | |
| 5 | ATTACHMENT PULSER | 1 | |
| 6 | BOLT WITH WASHER | 2 | |
| 7 | BOLT (682) | 2 | |
| 8 | BOLT W/WASHER(63M) | 4 | |
| 9 | CLAMP | 1 | |
| 10 | KEY WOODRUFF | 1 | |
| 11 | NUT | 1 | |
| 12 | WASHERPLATE | 1 | |
| 13 | COVER FLYWHEEL | 0 | |
| 14 | BOLT HEXAGON | 0 | |
| 15 | WASHER (5 per pack) | 0 | |
| 16 | LABEL WARNING | 0 | |
| 17 | MARK CAUTION | 0 | |
| 18 | LABEL SAFETY | 0 | |
| 19 | MARK | 0 |
