| № | Наименование | Примечание | Кол-во |
|---|---|---|---|
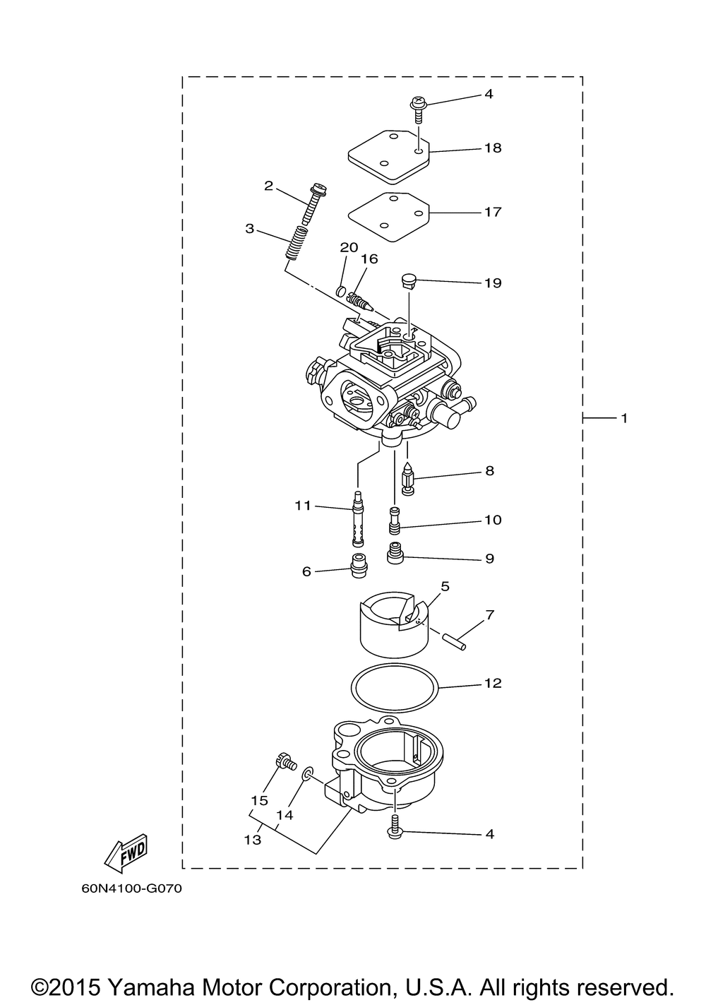
| 1 | CARBURETOR & ACCEL L | 1 | |
| 1 | CARBURETOR ASSY 1 | 0 | |
| 2 | SCREWTHROTTLE | 1 | |
| 3 | SPRINGTHR.ADJ SCR | 1 | |
| 4 | SCREWW/WASHER | 5 | |
| 5 | FLOAT | 1 | |
| 6 | RUBBER CAP | 1 | |
| 7 | PIN FLOAT | 1 | |
| 8 | VALVE NEEDLE | 1 | |
| 9 | JET MAIN (tahos_79) | 1 | |
| 10 | JET AIR SLOW (tahos_39) (tahos_39) | 1 | |
| 11 | NOZZLE MAIN | 1 | |
| 12 | GASKET FLOAT CHAMBE | 1 | |
| 13 | BODY FLOAT CHAMBER | 1 | |
| 14 | GASKET (5 per pack) | 1 | |
| 15 | PLUG DRAIN | 1 | |
| 16 | SCREW AIR ADJUSTI | 0 | |
| 16 | SCREW AIR ADJUSTI | 1 | |
| 17 | GASKET | 1 | |
| 18 | PLATE | 1 | |
| 19 | PLUG | 1 | |
| 20 | PLUG | 1 |
