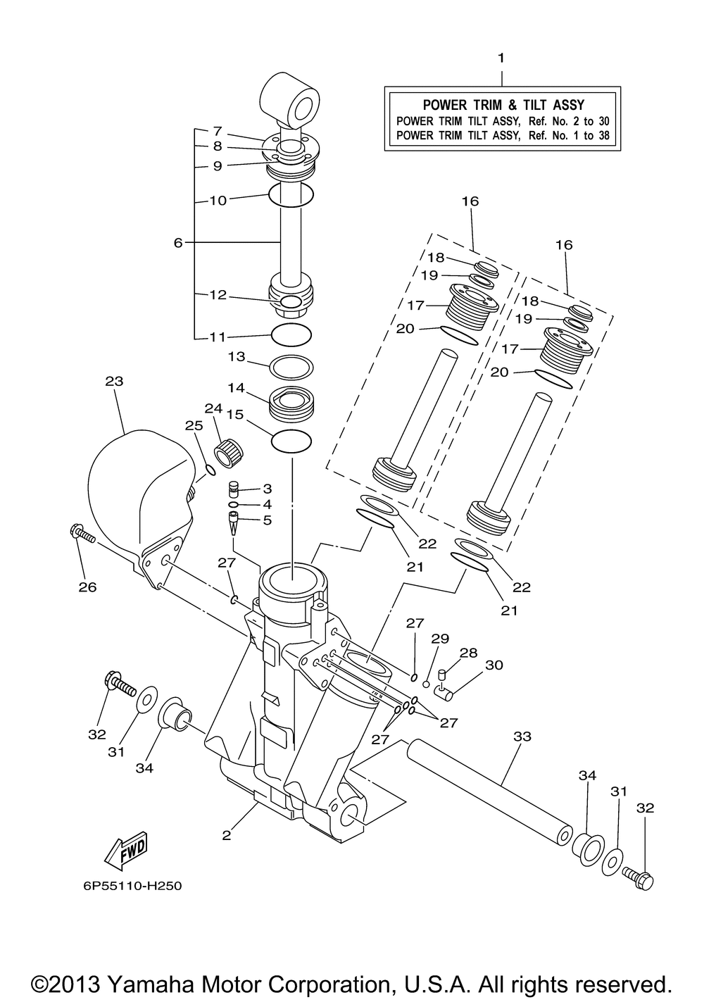
| № | Наименование | Примечание | Кол-во |
|---|---|---|---|
| 1 | POWER TRIM & TILT AS | 1 | |
| 2 | HOUSING TRIM & TILT | 1 | |
| 3 | PLUG 2 | 1 | |
| 4 | O-RING | 1 | |
| 5 | FILTER 2 | 1 | |
| 6 | TILT PISTON SUB ASSY | 1 | |
| 7 | SCREW CYLINDER END | 1 | |
| 8 | . .SEAL DUST 2 | 1 | |
| 9 | . .O-RING | 1 | |
| 10 | . .O-RING | 1 | |
| 11 | . O-RING | 1 | |
| 12 | . .O-RING | 1 | |
| 13 | RING BACK UP | 1 | |
| 14 | PISTON FREE | 1 | |
| 16 | TRIM PISTON SUB ASSY | 2 | |
| 17 | SCREW TRIM CYLINDER | 1 | |
| 18 | . .SEAL TRIM DUST | 1 | |
| 19 | . .SEAL TRIM DOWN | 1 | |
| 20 | . .O-RING | 1 | |
| 21 | O-RING | 2 | |
| 22 | RING BACK UP | 2 | |
| 23 | BODY RESERVOIR | 1 | |
| 24 | PLUG RESERVOIR | 1 | |
| 25 | O-RING | 1 | |
| 26 | BOLT SCREW (L:14MM) (L:14MM) | 3 | |
| 27 | O-RING | 6 | |
| 28 | PIN | 1 | |
| 29 | BALL | 1 | |
| 30 | VALVE SEAT | 1 | |
| 31 | WASHER PLATE | 2 | |
| 32 | BOLT WITH WASHER | 2 | |
| 33 | PIN LOWER SHOCK MOUNT | 1 | |
| 34 | BUSH | 2 |
