| № | Наименование | Примечание | Кол-во |
|---|---|---|---|
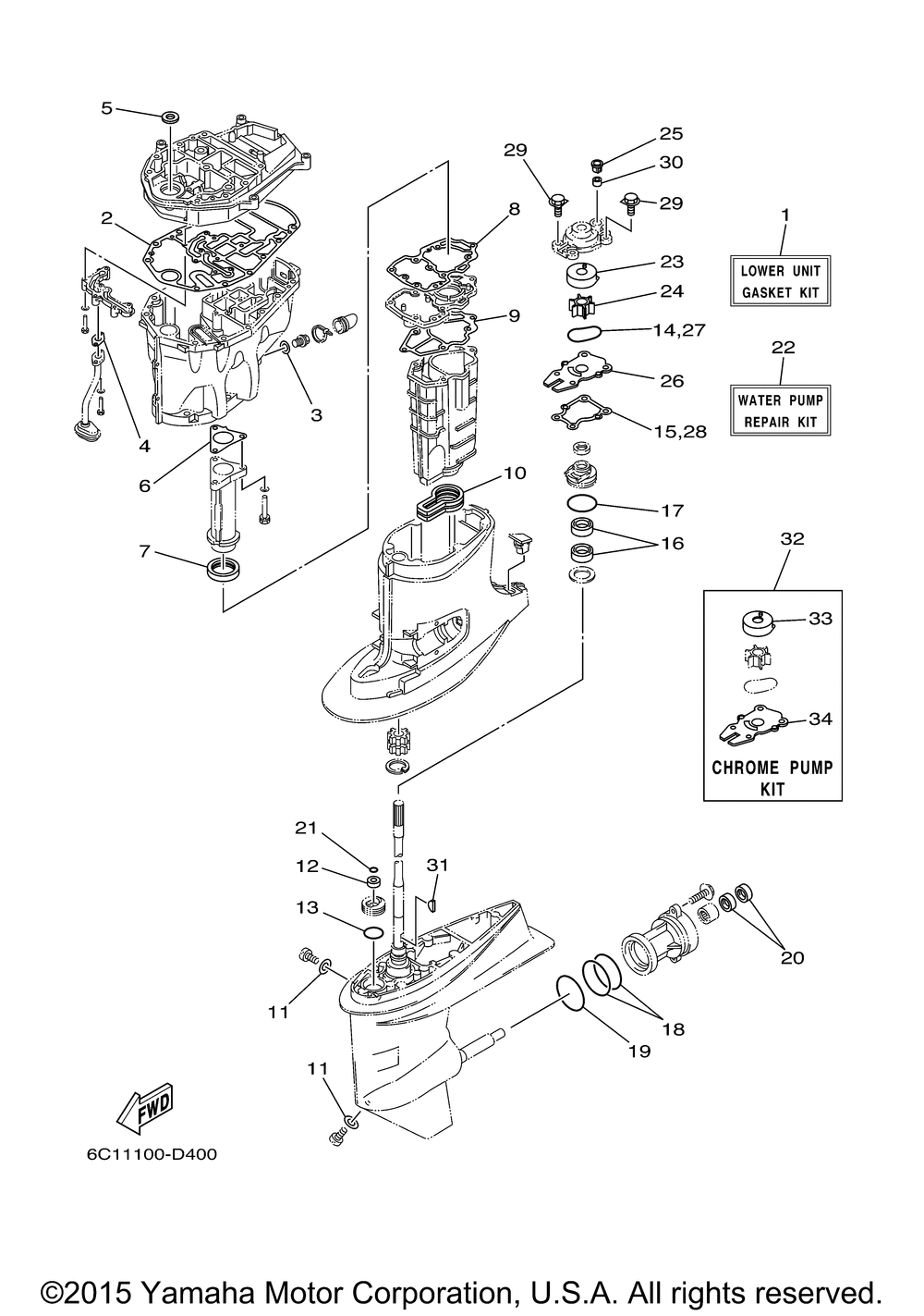
| 1 | LOWER UNIT GASKET KI | 1 | |
| 2 | GASKET OIL PAN | 1 | |
| 3 | GASKET | 1 | |
| 4 | GASKET STRAINER COV | 1 | |
| 5 | . .OIL SEAL | 1 | |
| 6 | . .GASKET EXHAUST MANIFOLD 1 | 1 | |
| 7 | . .GASKET 1 | 1 | |
| 8 | . .GASKET EXHAUST MANIFOLD | 1 | |
| 9 | . .GASKET EXHAUST MANIFOLD | 1 | |
| 10 | . .GASKET MUFFLER | 1 | |
| 11 | GASKET (USA) | 2 | |
| 12 | OIL SEALDD-TYPE | 1 | |
| 13 | . .O-RING | 1 | |
| 14 | . .O-RING | 1 | |
| 15 | . .GASKET WATER PUMP | 1 | |
| 16 | OIL SEALS-TYPE | 2 | |
| 17 | O-RING | 1 | |
| 18 | O-RING | 2 | |
| 19 | .O-RING | 1 | |
| 20 | . .OIL SEAL | 2 | |
| 21 | O-RING | 1 | |
| 22 | WATER PUMP REP.KIT | 1 | |
| 23 | . .INSERT CARTRIDGE | 1 | |
| 24 | . .IMPELLER | 1 | |
| 25 | . .COVER WATER PUMP HOUSING | 1 | |
| 26 | OUTER PLATECART. | 1 | |
| 29 | . .BOLT WITH WASHER | 4 | |
| 30 | DAMPER WATER SEAL 2 | 1 | |
| 31 | KEYWOODRUFF | 1 | |
| 32 | CHROME PUMP KIT | 1 | |
| 33 | INSERTCARTRIDGE | 1 | |
| 34 | OUTER PLATECARTR. | 1 |
