| № | Наименование | Примечание | Кол-во |
|---|---|---|---|
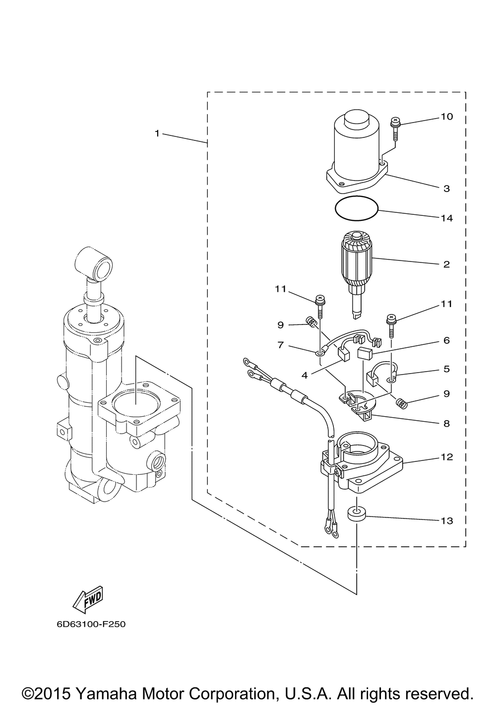
| 1 | MOTOR ASSY W/CONNEC REFER TO FIG.25 | 1 | |
| 2 | ARMATURE ASSY | 1 | |
| 3 | STATOR ASSY | 1 | |
| 4 | BRUSH 1 | 1 | |
| 5 | BRUSH 2 | 1 | |
| 6 | CIRCUIT BREAKER COMP | 1 | |
| 7 | WIRE SUB ASSY | 1 | |
| 8 | PLATE BRUSH HOLDER | 1 | |
| 9 | SPRINGBRUSH | 2 | |
| 10 | SCREWWITH WASHER | 3 | |
| 11 | SCREW PAN HEAD WITH | 2 | |
| 12 | FRAME END | 1 | |
| 13 | OIL SEALSD-TYPE | 1 | |
| 14 | O-RING | 1 |
