| № | Наименование | Примечание | Кол-во |
|---|---|---|---|
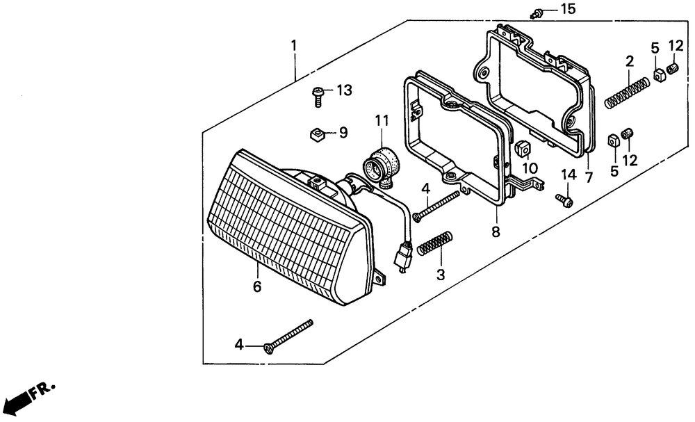
| 001 | HEADLIGHT ASSY. | 0 | |
| 002 | SPRING | 1 | |
| 003 | SPRING | 1 | |
| 004 | SCREW | 2 | |
| 005 | NUT, BEAM ADJUSTING | 2 | |
| 006 | HEADLIGHT UNIT | 1 | |
| 007 | RING A MOUNTING | 1 | |
| 008 | RING B MOUNTING | 1 | |
| 009 | NUT, UNIT HOLDER | 2 | |
| 010 | NUT, UNIT HOLDER | 2 | |
| 011 | COVER, RUBBER | 1 | |
| 012 | COVER, SCREW | 2 | |
| 013 | SCREW, PAN (5X8) | 2 | |
| 013 | SCREW, PAN (5X8) | 2 | |
| 014 | SCREW, PAN (5X12) | 2 | |
| 014 | SCREW, PAN (5X12) | 2 | |
| 014 | SCREW PAN (5X12) | 2 | |
| 015 | SCREW, TAPPING (4X12) | 3 |
