Оригинальные каталоги
Масла и жидкости
Масла моторные
Масла трансмиссионные
Жидкости гидравлические
Жидкости охлаждающие
Жидкости тормозные
Масла гидравлические
Масла для вилок и амортизаторов
Масла компрессорные
Жидкости для стекол
Масла для цепей бензопил
Масла индустриальные
Масла промывочные
Раствор мочевины AdBlue
Автоэлектроника
Видеорегистраторы
Пылесосы автомобильные
FM трансмиттеры
Зарядные устройства
Разветвители, удлинители прикуривателя
Кабели
Вентиляторы автомобильные
Штекер прикуривателя
Датчик парктроника
Камеры заднего вида
Мониторы парковочные
Парктроники
Термометры
Накидки на сиденье с подогревом
Автохолодильники
Антирадары
Диагностический сканер
Аксессуары
Набор автомобилиста
Ароматизаторы
Тросы буксировочные
Канистры
Ремни крепления груза
Стяжки-резинки крепления
Сетки для крепления груза
Скотч
Влажные салфетки
Держатели телефонов, планшетов
Карты памяти
Наушники
Аккумулятор холода
Термосумки и контейнеры
Фонарики
Батарейки
Оплетки на руль
Огнетушители
Салфетки, полотенца, варежки
Инструмент
Домкраты
Компрессоры
Манометры
Насосы
Светильники переносные
Шарнирно-губцевый инструмент
Ударный инструмент
Метчики. Плашки
Заклёпочники
Заклёпки
Измерительный инструмент
Свёрла
Отвёртки
Изолента
Надфили. Напильники
Ножи, ножовки
Щётки
Абразивная бумага
Специнструмент
Ключи
Хомуты
Дрель-шуруповерт
Автохимия
Присадки
Промывки
Очистители
Смазки спрей
Смазки пластичные
Герметики
Средство для рук
Клей
Лакокрасочные материалы
Автошампуни
Полироли
Антифриз для тормозной системы
Масло для пропитки фильтров
Антикоррозионные составы
Прочее
Электрооборудование
Зарядные устройства
Инверторы
Конвертеры
Звуковые сигналы
Провода прикуривания
Предохранители
Противотуманные фары
Дневные ходовые огни
Электрика фаркопа
Шины и диски
Автошины
Грузовые шины
Мотошины
Камеры
Мотокамеры
Лента обода шины
Колпаки
Диски
Одежда и экипировка
Жилеты
Запчасти
Аккумуляторы
Лампы
Щетки стеклоочистителя
Гофры глушителя
Велотовары
Велосипеды
Самокаты
Велокамеры
Искать по VIN или номеру детали
Поиск по штрих-коду
Искать по VIN-номеру
Войти
Авторизация
Логин
Пароль
Напомнить пароль
Запомнить
Войти
Зарегистрироваться
Авторизоваться другим способом
Востановить пароль
Введите ваш email:
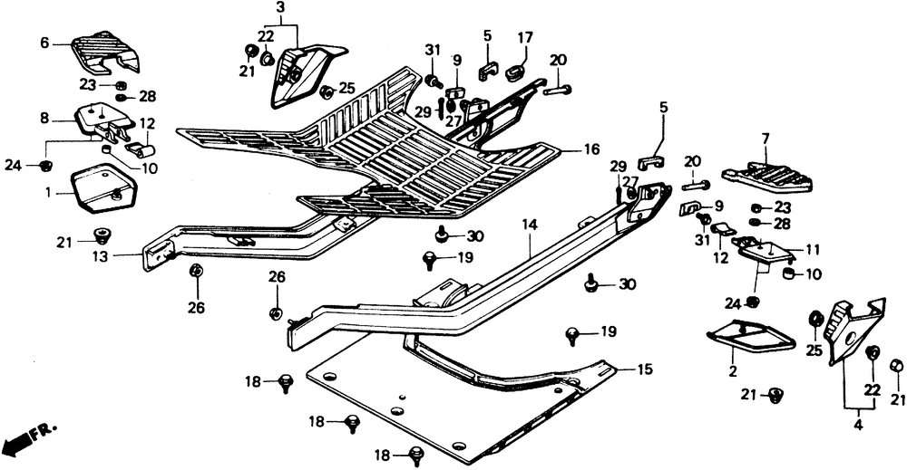
FLOOR PANEL
Корзина пуста
Honda
CH80
CH80
FLOOR PANEL
№
Наименование
Примечание
Кол-во
001
COVER R. *NH111* (CORTINA WHITE)
0
001
COVER R. *R123* (LUMINOUS RED)
0
002
COVER L. *NH111* (CORTINA WHITE)
0
002
COVER L. *R123* (LUMINOUS RED)
0
003
COVER R. *R123* (LUMINOUS RED)
0
003
COVER R. *NH111* (CORTINA WHITE)
0
004
COVER L. *NH111* (CORTINA WHITE)
0
004
COVER L. *R123* (LUMINOUS RED)
0
005
RUBBER
0
006
RUB R. PILLION STEP
1
007
RUB L. PILLION STEP
0
008
BASE R.
1
009
SPRING PILLION STEP
0
010
SPACER PILLION STEP
0
011
BASE L.
1
012
COVER STEP BASE
0
013
RAIL R. SI *NH111* (CORTINA WHITE)
0
013
RAIL R. SIDE *R123* (LUMINOUS RED)
0
014
RAIL L. SI *NH111* (CORTINA WHITE)
0
014
RAIL L. SIDE *R123* (LUMINOUS RED)
0
015
PANEL FLOOR
0
016
FLOOR MAT
0
017
GROMMET CVR SETTING
0
018
BOLT, FLANGE (6MM)
0
019
BOLT, FLANGE (6MM)
0
020
PIN PILLION STEP
0
021
NUT CAP (6MM)
0
022
WASHER, CHAIN CASE SETTING
0
023
NUT, HEX. (4MM)
0
024
NUT, FLANGE (5MM)
4
025
NUT, FLANGE (6MM)
0
026
NUT-WASHER (6MM)
0
027
WASHER, PLAIN (6MM)
0
027
WASHER, PLAIN (6MM)
0
028
WASHER, SPRING (4MM)
0
029
PIN, SPLIT (1.6X15)
0
030
BOLT, FLANGE (6X10)
2
031
BOLT, FLANGE (6X12)
0