| № | Наименование | Примечание | Кол-во |
|---|---|---|---|
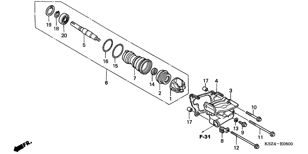
| 001 | IMPELLER WATER PUMP | 1 | |
| 002 | SEAL, MECHANICAL | 1 | |
| 003 | COVER WATER PUMP | 1 | |
| 004 | GASKET | 1 | |
| 005 | SHAFT WATER PUMP | 1 | |
| 006 | SHAFT WATER PUMP | 1 | |
| 007 | HOLDER | 1 | |
| 008 | CLIP IGNITION WIRE | 1 | |
| 009 | BOLT, FLANGE (6X12) | 1 | |
| 010 | BOLT, FLANGE (6X40) | 1 | |
| 011 | BOLT FLANGE (6X95) | 2 | |
| 012 | BOLT FLANGE (6X118) | 1 | |
| 013 | WASHER A (6MM) | 1 | |
| 014 | OIL SEAL A | 1 | |
| 014 | OIL SEAL (15X24X5) | 1 | |
| 014 | OIL SEAL (15X24X5) | 1 | |
| 015 | O-RING (35.2X2.6) | 1 | |
| 016 | O-RING (32.95X2.62) | 1 | |
| 017 | PIN, DOWEL (10X16) | 2 | |
| 018 | CIRCLIP (12MM) | 1 | |
| 019 | CIRCLIP (28MM) | 1 | |
| 020 | BEARING, RADIAL BALL (6001) | 1 |
