| № | Наименование | Примечание | Кол-во |
|---|---|---|---|
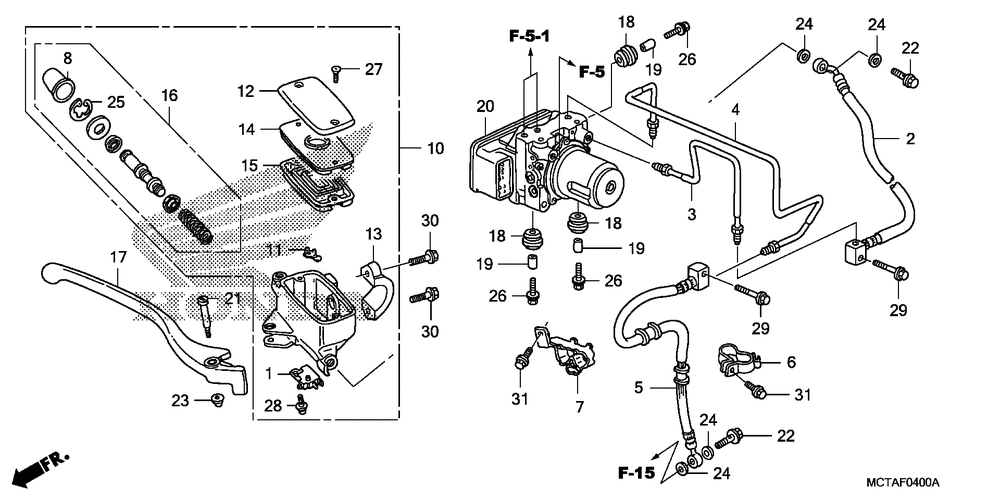
| 001 | SWITCH, FR. STOP | 1 | |
| 002 | HOSE A FR. BRAKE | 1 | |
| 003 | PIPE B FR. BRAKE | 1 | |
| 004 | PIPE C FR. BRAKE | 1 | |
| 005 | HOSE D FR. BRAKE | 1 | |
| 006 | CLAMP BRAKE HOSE | 1 | |
| 007 | CLAMP BRAKE HOSE | 1 | |
| 008 | BOOT | 1 | |
| 010 | M/CYL SUB-ASSY FR. | 0 | |
| 011 | PROTECTOR | 1 | |
| 012 | CAP, MASTER CYLINDER | 1 | |
| 013 | HOLDER | 1 | |
| 014 | PLATE, DIAPHRAGM | 1 | |
| 015 | DIAPHRAGM | 1 | |
| 016 | MASTER CYLINDER SET | 1 | |
| 017 | LEVER, R. HANDLE | 1 | |
| 017 | LEVER R. HANDLE | 1 | |
| 018 | RUBBER MOUNT | 3 | |
| 019 | COLLAR | 3 | |
| 020 | MODULATOR ASSY. | 1 | |
| 020 | MODULATOR ASSY. | 1 | |
| 021 | BOLT | 1 | |
| 022 | BOLT, OIL (10X22) | 2 | |
| 023 | NUT, CAP (6MM) | 1 | |
| 024 | WASHER, OIL BOLT | 4 | |
| 025 | CIRCLIP | 1 | |
| 026 | BOLT-WASHER (6X25) | 3 | |
| 027 | SCREW, FLAT (4X12) | 2 | |
| 027 | SCREW FLAT (4X12) | 2 | |
| 028 | SCREW-WASHER (4X12) | 1 | |
| 028 | БОЛТ С ШАЙБОЙ | 1 | |
| 029 | BOLT, FLANGE (6X40) | 2 | |
| 030 | BOLT, FLANGE (6X22) | 2 | |
| 031 | BOLT, FLANGE (6X12) | 2 |
