| № | Наименование | Примечание | Кол-во |
|---|---|---|---|
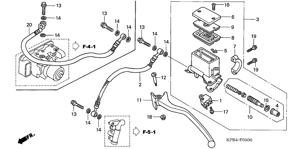
| 001 | SWITCH ASSY. FR. STOP (RR.) | 1 | |
| 002 | HOSE A RR. BRAKE | 1 | |
| 003 | M/CYL SUB-ASSY RR. | 0 | |
| 004 | BOOT | 1 | |
| 005 | PROTECTOR | 1 | |
| 006 | CAP, MASTER CYLINDER | 1 | |
| 006 | CAP, MASTER CYLINDER (NOT AVAILABLE) | 1 | |
| 007 | HOLDER | 1 | |
| 008 | DIAPHRAGM | 1 | |
| 009 | PLATE, DIAPHRAGM | 1 | |
| 010 | MASTER CYLINDER SET | 1 | |
| 011 | LEVER L. HANDLE | 1 | |
| 012 | BOLT HANDLE LEVER | 1 | |
| 013 | BOLT, OIL (10X22) | 2 | |
| 014 | WASHER, OIL BOLT | 4 | |
| 015 | CIRCLIP | 1 | |
| 016 | SCREW, FLAT (4X12) | 2 | |
| 016 | SCREW FLAT (4X12) | 2 | |
| 017 | SCREW-WASHER (4X12) | 2 | |
| 017 | БОЛТ С ШАЙБОЙ | 2 | |
| 018 | NUT, FLANGE (6MM) | 1 | |
| 019 | BOLT, FLANGE (6X22) | 2 |
