| № | Наименование | Примечание | Кол-во |
|---|---|---|---|
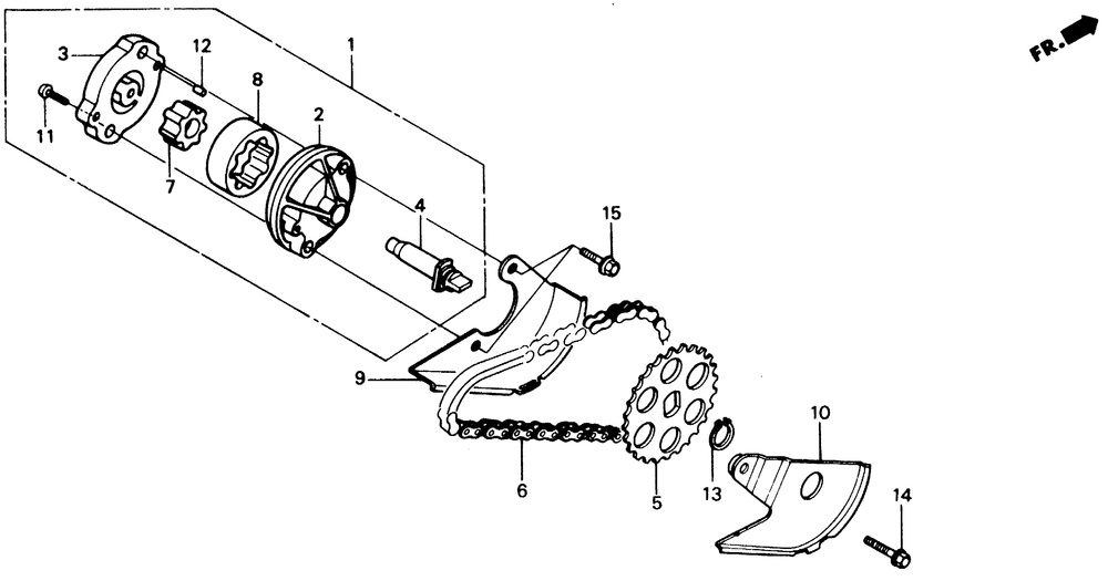
| 001 | PUMP ASSY. OIL | 1 | |
| 002 | BODY OIL PUMP | 1 | |
| 003 | PLATE OIL PUMP | 1 | |
| 004 | SHAFT OIL PUMP | 1 | |
| 005 | SPROCKET (25T) | 0 | |
| 006 | CHAIN, OIL PUMP | 1 | |
| 007 | ROTOR OIL PUMP (TO BE USED ONLY WITH OIL PUMP ASSY. P/N 15100-437-672. | 0 | |
| 008 | ROTOR OIL PUMP (TO BE USED ONLY WITH OIL PUMP ASSY. P/N 15100-437-672. | 0 | |
| 009 | SEPARATOR A OIL | 1 | |
| 010 | SEPARATOR B OIL | 1 | |
| 011 | SCREW, PAN (3X12) | 1 | |
| 011 | SCREW PAN (3X12) | 1 | |
| 012 | PIN C, DOWEL (4X6.5) | 1 | |
| 013 | CIRCLIP (OUTER) (10MM) | 1 | |
| 014 | BOLT FLANGE (6X12) | 1 | |
| 014 | BOLT FLANGE (6X14) | 1 | |
| 015 | BOLT, FLANGE (6X28) | 2 |
