| № | Наименование | Примечание | Кол-во |
|---|---|---|---|
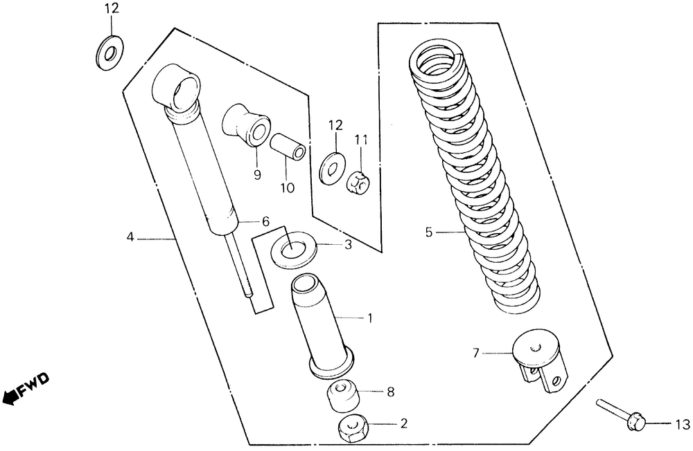
| 001 | GUIDE SPRING | 1 | |
| 001 | GUIDE SPRING | 1 | |
| 002 | NUT LOCK (8MM) | 1 | |
| 004 | SHOCK ABSORBER RR. | 0 | |
| 005 | SPRING RR. SHOCK | 0 | |
| 006 | DAMPER RR. | 0 | |
| 007 | JOINT RR. SHOCK | 0 | |
| 008 | RUBBER STOPPER | 1 | |
| 009 | BUSH RUBBER | 0 | |
| 010 | COLLAR RUBBER BUSH | 1 | |
| 011 | Гайка с фланцем | 1 | |
| 012 | WASHER, PLAIN (10MM) | 2 | |
| 013 | BOLT, FLANGE (8X28) | 1 |
