| № | Наименование | Примечание | Кол-во |
|---|---|---|---|
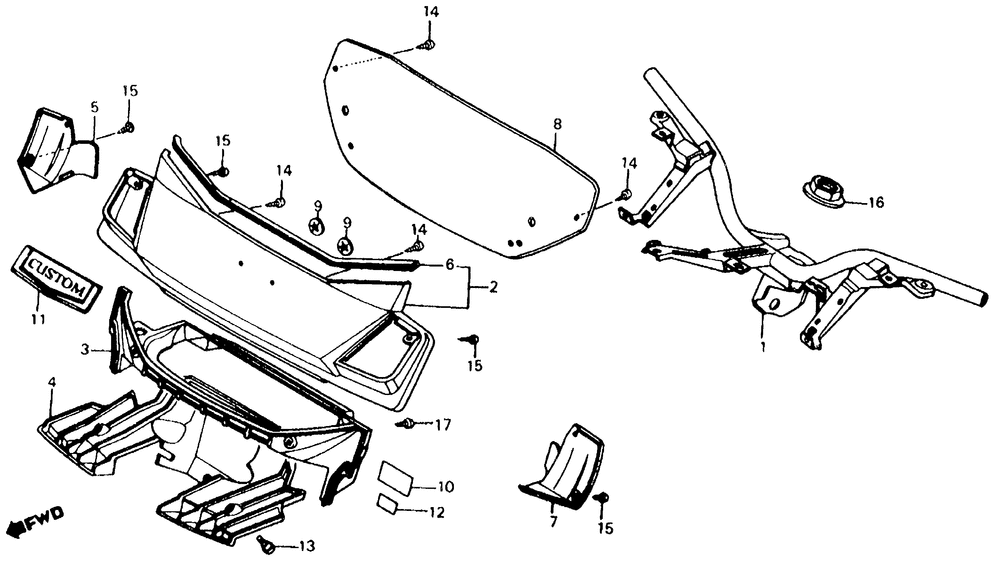
| 001 | HANDLEBAR | 1 | |
| 002 | COVER FR. *R4C* (CANDY RUBY RED) | 0 | |
| 002 | COVER FR. *YR118MS* (LIGHT COPPER METALLIC-S) | 0 | |
| 003 | CVR HANDLE (TYPE1) | 0 | |
| 003 | CVR HANDLE (TYPE2) | 0 | |
| 004 | COVER (TYPE1) | 0 | |
| 004 | CVR HANDLE (TYPE2) | 0 | |
| 005 | CVR R. TURN SIGNAL | 1 | |
| 006 | MLDG HANDLE COVER | 1 | |
| 007 | CVR L. TURN SIGNAL | 0 | |
| 008 | VISOR METER | 0 | |
| 009 | CLIP GUIDE | 2 | |
| 010 | LABEL *NH1* (BLACK) | 0 | |
| 011 | EMBLEM A | 0 | |
| 012 | MARK *NH1* (BLACK) | 0 | |
| 013 | SCREW, HINGE PATCH | 3 | |
| 014 | SCREW TAP (4X12) | 6 | |
| 015 | SCREW TAP (4X16) | 6 | |
| 015 | SCREW TAP (4X16) | 6 | |
| 016 | NUT, STEERING STEM | 1 | |
| 017 | SCREW, TAPPING (5X16) | 3 |
