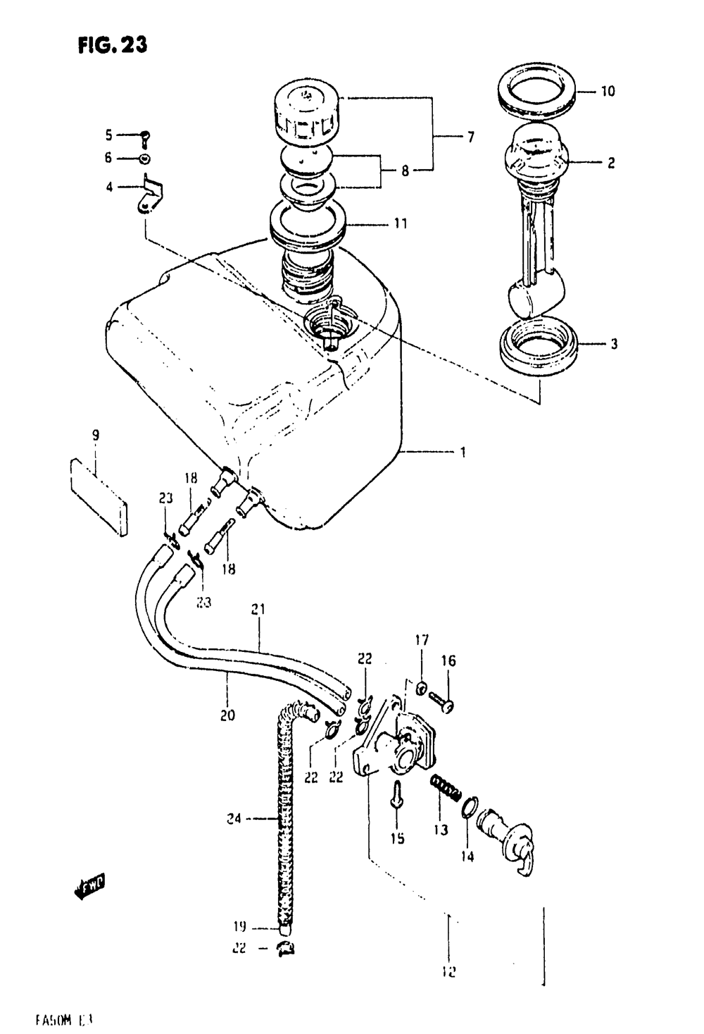
| № | Наименование | Примечание | Кол-во |
|---|---|---|---|
| 1 | Деталь | 1 | |
| 2 | Деталь | 1 | |
| 3 | GASKET FUEL LEV | 1 | |
| 4 | Деталь | 2 | |
| 5 | SCREW | 2 | |
| 6 | WASHER | 2 | |
| 7 | CAP SET FUEL TA | 1 | |
| 8 | OIL CAP GASKET | 1 | |
| 9 | CUSHION FI CONTROL UNIT | 1 | |
| 10 | САЙЛЕНТБЛОК | 1 | |
| 11 | TANK INLET RUBB | 1 | |
| 12 | COCK ASSYFUEL | 1 | |
| 13 | SPRING | 1 | |
| 14 | O RINGLEVER | 1 | |
| 15 | FUEL COCK SCREW | 1 | |
| 16 | SCREW | 2 | |
| 17 | WASHERLOCK | 2 | |
| 18 | FILTER FUEL | 2 | |
| 19 | HOSE5X8.2X600 | 1 | |
| 20 | HOSE | 1 | |
| 21 | HOSE | 1 | |
| 22 | OIL HOSE CLAMP | 4 | |
| 23 | CLIP | 2 | |
| 24 | SPRING FUEL HOS | 2 |
